Curiosii for ever!: Car repair manuals for everyone.

Exhaust Gas Recirculation: Testing and Inspection

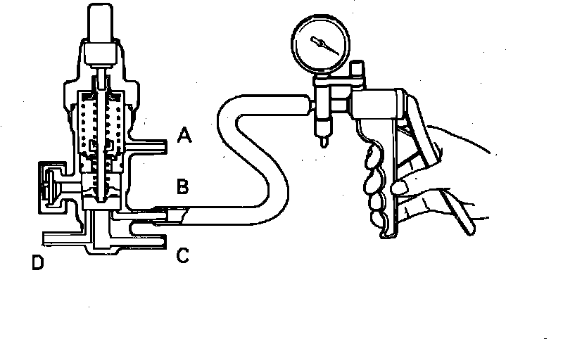
Fig. 55 Testing the thermo valve:





1. Disconnect all vacuum hoses from the thermo valve.
2. Connect a hand vacuum pump to nipple (B), Fig. 55 and verify that when the engine is cold (coolant temperature less than 63 +/- 2.7 degrees C or 145 +/- 5 degrees F) vacuum leaks.
3. Warm the engine up (coolant temperature greater than 65 +/- 2 degrees C or 149 +/- 4 degrees F) vacuum holds.