Curiosii for ever!: Car repair manuals for everyone.

Keyless Start Antenna: Service and Repair

REMOTE START ANTENNA MODULE - REMOVAL






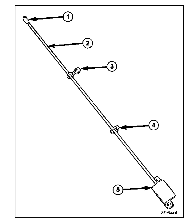
The Remote Start Antenna Module Assembly consists of an electrical connection to the WCM/SKREEM (1), a length of coax cable (2), two mounting clips (3) and (4), and a control module/antenna (5).






The control module (3) is located under the instrument panel cover (2). The module electrical connector plugs into the WCM/SKREEM at the right side of the steering column.
1. Disconnect and isolate negative battery cable.
2. Remove steering column trim panel (knee blocker).
3. Remove steering column shrouds.
4. Remove left instrument panel (IP) end cap.

6. Remove IP cluster and its three connectors.
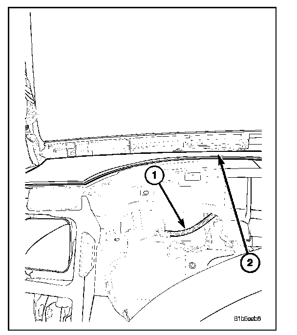
7. Remove left A-pillar trim.
8. Unclip upper IP bezel (defroster).
9. Remove two module mounting screws (4) from module (3).






10. Disconnect coax cable retainers (3) and (4) from IP.






11. Remove two WCM/SKREEM mounting screws at steering column (1).
12. Remove WCM/SKREEM from steering column (1).
13. Disconnect coax cable electrical connector (2) at WCM/SKREEM.
14. Remove module (2) from top of instrument panel while fishing coax cable (1) through openings.






REMOTE START ANTENNA MODULE - INSTALLATION






The Remote Start Antenna Module Assembly consists of an electrical connection to the WCM/SKREEM (1), a length of coax cable (2), two mounting clips (3) and (4), and a control module/antenna (5).






1. Fish coax cable (1) through openings on top of instrument panel. Position module (2) to top of instrument panel.






2. Install two module mounting screws (4) to module (3).






3. Connect coax cable retainers (3) and (4) to instrument panel.






4. Connect coax cable electrical connector (2) to WCM/SKREEM.
5. Install WCM/SKREEM to steering column (1).
6. Clip upper instrument panel (IP) bezel (defroster).
7. Install left A-pillar trim.
8. Install IP cluster and its three connectors.
9. Install IP cluster bezel.
10. Install left IP end cap.
11. Install steering column trim panel (knee blocker).
12. Install steering column shrouds.
13. Connect negative battery cable.