Curiosii for ever!: Car repair manuals for everyone.

Electronic Brake Control Module: Service and Repair

MODULE - ANTI-LOCK BRAKES

REMOVAL

NOTE: If the ABM needs to be replaced, the rear axle type and tire revolutions per mile must be programed into the new ABM. For tire revolutions per mile,refer to Wheel and Tire Specifications. To program the ABM refer to the Appropriate Diagnostic Information.




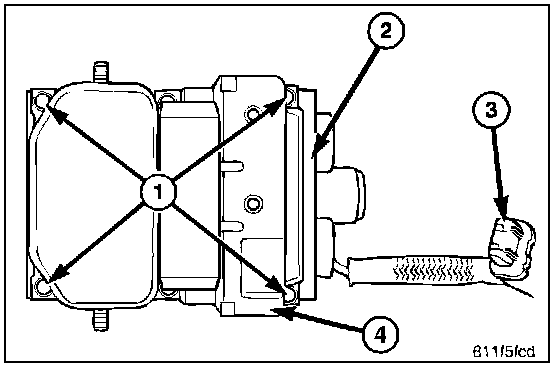
1. Disconnect the pump electrical connector (3) from the HCU (2).
2. Remove the module mounting screws (1).




3. Remove the module (1) from the HCU (2).

INSTALLATION

NOTE: If the ABM needs to be replaced, the rear axle type and tire revolutions per mile must be programed into the new ABM. For tire revolutions per mile refer to Wheel and Tire Specifications. To program the ABM refer to the Appropriate Diagnostic Information.




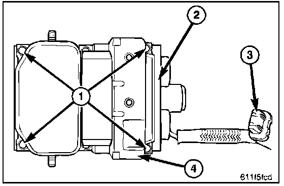
1. Position the module (1) on the HCU (2).




2. Install the mounting screws (1) and tighten to 6 N.m (53 in. lbs).
3. Install the pump electrical connector (3) to the module (4).