Curiosii for ever!: Car repair manuals for everyone.

Accelerator Pedal Position Sensor: Testing and Inspection






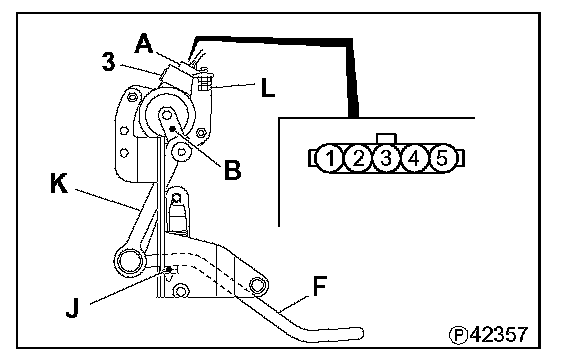
[3] Inspect the accelerator pedal position sensor

[Inspection]
- Set the starter switch to ON.
- Measure the output voltage of the accelerator position sensor 3 from the back side of harness connector A according to the following table.







- If the output voltage is out of the standard value range, adjust by the following procedures.