Curiosii for ever!: Car repair manuals for everyone.

Procedures



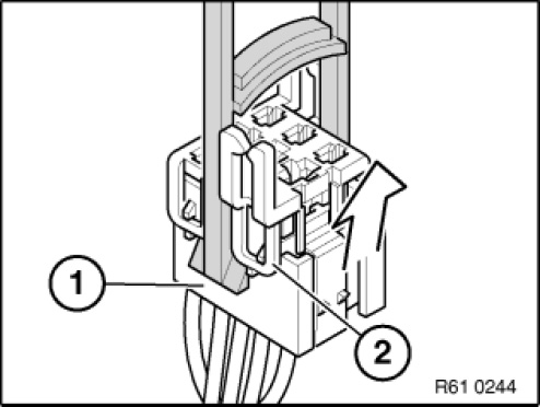
61 13 ... Relay Carrier







Place special tool 61 1 153 against relay carrier (1) and carefully pull in direction of arrow until the locking tabs (2) of the relay carrier are raised up.







Pull relay carrier (2) in direction of arrow into the first catch (3).







Press down arrester hook (4) of corresponding contact and pull out the cable with contact.
With special tool 61 1 136 or 61 1 137 (press out) press out dual spring contacts.