Curiosii for ever!
: Car repair manuals for everyone.
Home
>>
Mini
>>
2007
>>
Cooper Convertible (R52) L4-1.6L (W10)
>>
Repair and Diagnosis
>>
Diagrams
>>
Electrical Diagrams
>>
Body
>>
Display and Information Functions
>>
On-Board Computer Functions
>>
Average Speed
Average Speed
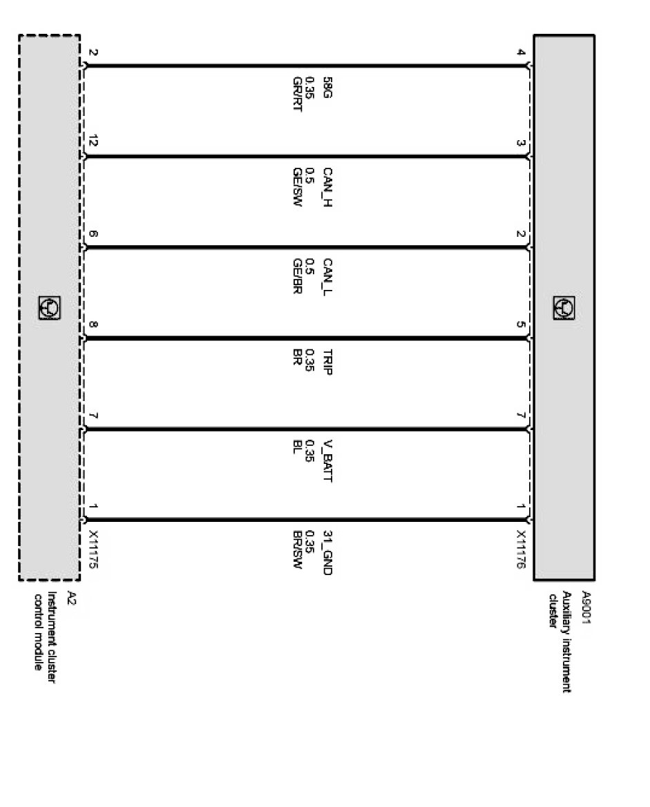
Auxiliary instrument cluster: