Curiosii for ever!
: Car repair manuals for everyone.
Home
>>
Mini
>>
2006
>>
Cooper S Convertible (R52) L4-1.6L SC (W11)
>>
Repair and Diagnosis
>>
Diagrams
>>
Electrical Diagrams
>>
Chassis
>>
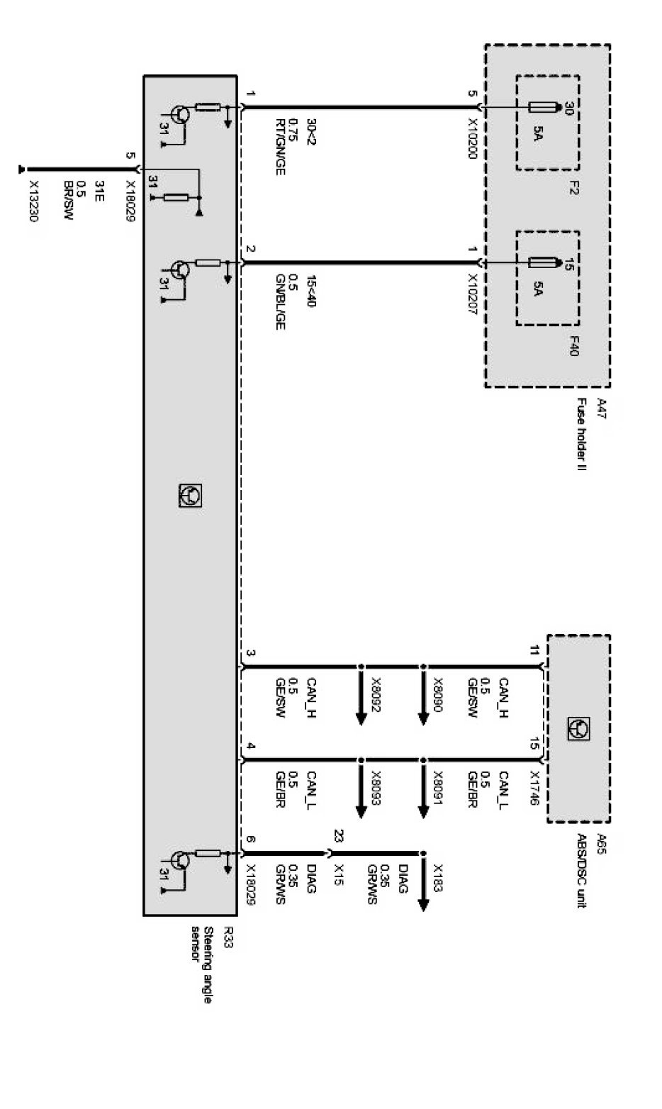
Steering Angle Sensor (MINI_MINI-R50/R52/R53 With DSC Dynamic Stability Control)
>>
Steering Angle Sensor (Up to 09/05)
Steering Angle Sensor (Up to 09/05)
Steering angle sensor: