Curiosii for ever!
: Car repair manuals for everyone.
Home
>>
Mini
>>
2005
>>
Cooper S Convertible (R52) L4-1.6L SC (W11)
>>
Repair and Diagnosis
>>
Diagrams
>>
Electrical Diagrams
>>
Chassis
>>
Slip Control Systems
>>
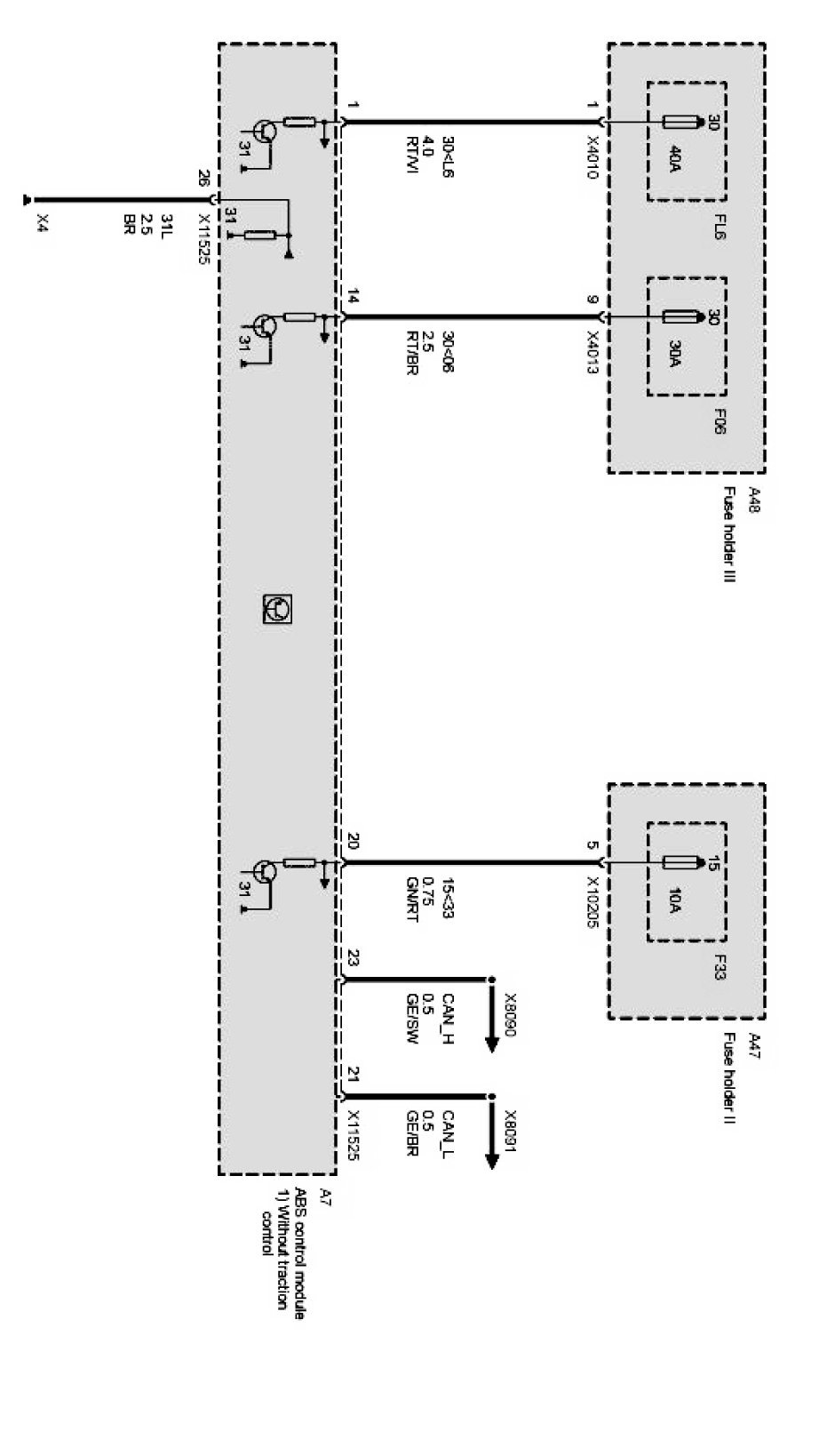
ABS MK60/MK70 (ABS Anti-Lock Brake System)
>>
ABS Control Module
>>
Vehicle Electrical System
Vehicle Electrical System
Supply: