Curiosii for ever!
: Car repair manuals for everyone.
Home
>>
Mercury
>>
2011
>>
Milan FWD L4-2.5L
>>
Repair and Diagnosis
>>
Engine, Cooling and Exhaust
>>
Engine
>>
Cylinder Block Assembly
>>
Piston
>>
Service and Repair
>>
Procedures
>>
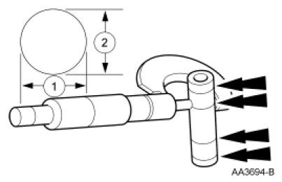
Piston Pin Diameter
Piston Pin Diameter
Piston Pin Diameter
NOTE:
Refer to the appropriate Engine for the specification.
1.
Measure the piston pin diameter in 2 directions at the points shown. Verify the diameter is within specification.