Electronic Brake Control Module: Service and Repair
Anti-Lock Brake System (ABS) Module - Hybrid
Removal and Installation
NOTICE: Electronic modules are sensitive to electrical charges. The Anti-lock Brake System (ABS) module can be damaged if exposed to these charges.
NOTICE: Do not allow any brake fluid or foreign material to enter the mating side of the Anti-lock Brake System (ABS) module or damage to the solenoids can occur.
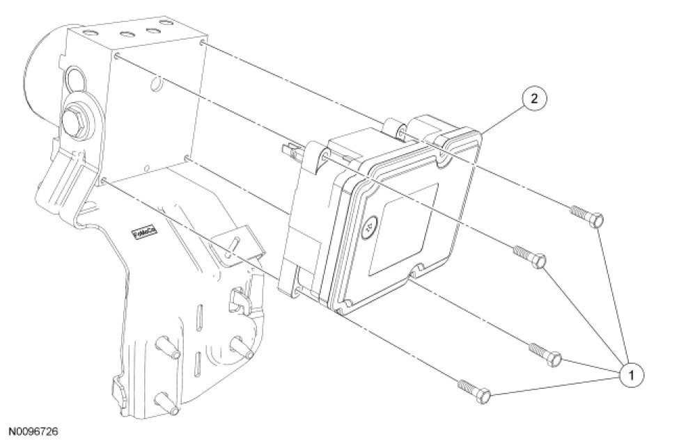
1. Remove the Hydraulic Control Unit (HCU). For additional information, refer to Hydraulic Control Unit (HCU) - Hybrid Service and Repair.
2. NOTE: Make sure the HCU and ABS module are clean and free of any brake fluid or foreign material before separating the components.
Remove the 4 ABS module screws and the ABS module.
- To install, tighten to 2 Nm (18 lb-in) using a cross-type pattern.
3. NOTE: Visually inspect the ABS module terminals for damage before installation.
To install, reverse the removal procedure.