Curiosii for ever!: Car repair manuals for everyone.

Transaxle Case




Transaxle Case





Transaxle Case Exploded View









Disassembly and Assembly

1. Place the transaxle clutch housing on a bench.

2. Remove the 2 vent cover bolts and the vent cover.





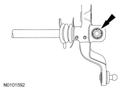
3. Using the Slide Hammer and Stator Case Bearing Remover, remove the differential bearing cup.
- Inspect the cup for wear or damage. Install a new cup as necessary.

- Always install new bearings and cups as a set.





4. Using a screwdriver, remove and discard the differential seal.





5. Remove the input shaft bearing cup.
- Inspect the cup for wear or damage. Install a new cup as necessary.

- Always install new bearings and cups as a set.





6. Using a screwdriver, remove and discard the input shaft oil seal.





7. Remove the output shaft bearing cup and the funnel.
- Inspect the cup for wear or damage. Install a new cup as necessary.

- Always install new bearings and cups as a set.





8. Remove the shift control selector plate bolts and the shift control selector plate.





9. Working on the transaxle case:

1. Remove the 2 shift lever assembly bolts and separate the boot from the case.

2. Separate the shift arm, boot and bushing from the shift lever assembly.





10. Remove the control arm bolt.





11. Pull the shift lever outward, then remove the washer, spring and the control arm.





12. Remove the control arm key.





13. Remove the shift lever from the case.
- Inspect all components for wear or damage. Install new components as necessary.

14. Inspect the shift lever bushing and replace if necessary.





15. Remove the shift lever boot.





16. Remove the shift lever seal.





17. Remove the input shaft bearing cup and shims.
- Inspect the cup for wear or damage. Install a new cup as necessary.

- Always install new bearings and cups as a set.

18. Remove the output shaft bearing cup and shims.
- Inspect the cup for wear or damage. Install a new cup as necessary.

- Always install new bearings and cups as a set.

19. Using the Slide Hammer and Stator Case Bearing Remover, remove the differential bearing cup and shims.
- Inspect the cup for wear or damage. Install a new cup as necessary.

- Always install new bearings and cups as a set.





20. Remove and discard the differential oil seal.





Assembly

1. Do not install the following components into the transaxle case at this time. These components will be installed during final assembly.
- Input shaft bearing cup and shim

- Output shaft bearing cup and shim

- Differential bearing cup and shim

- Funnel

2. Working on the transaxle clutch housing side, install the vent cover and the 2 vent cover bolts.
- Tighten to 10 Nm (89 lb-in).





3. Using the Clutch Housing Oil Seal Installer, install a new input shaft seal.





4. Install the input shaft bearing cup into the clutch housing.





5. Align and install the funnel and the output shaft bearing cup into the clutch housing.





6. Using the Differential Bearing Cup Installer and Handle, install the differential bearing cup into the clutch housing.





7. Using the Halfshaft Oil Seal Installer, install new halfshaft seals.





8. Install the shift control selector plate.
- Tighten the bolt on the left to 10 Nm (89 lb-in).

- Tighten the bolt on the right to 28 Nm (21 lb-ft).





9. Install the shift lever boot.





10. Install shift lever seal into the case.





11. Install the shift lever rod into the case. Install the control arm key.





12. NOTE: Use care not to let the washer fall off the rod.

Install the control arm, the spring and the washer. Push the assembly inward. Align the control arm bolt with the notch on the shift lever rod. Install the bolt.

- Tighten to 12 Nm (106 lb-in).





13. Install the shift lever assembly.

1. Install the 2 shift lever assembly bolts and attach the boot and bushing to the case.
- Tighten to 22 Nm (16 lb-ft).

2. Attach the shift arm, boot and bushing to the shift assembly.