Curiosii for ever!: Car repair manuals for everyone.

Blower Motor Switch




Blower Motor Switch

Removal and Installation

1. Remove the climate control assembly. For additional information, refer to Climate Control Assembly Climate Control Assembly.

2. Pull and remove the blower motor switch knob.

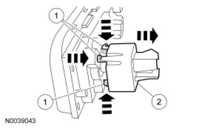
3. Remove the blower motor switch.

1. Release the 3 tabs.

2. Remove the blower motor switch.





4. To install, reverse the removal procedure.