Curiosii for ever!: Car repair manuals for everyone.

Shift Cable: Service and Repair




Selector Lever Cable









Removal

1. With the vehicle in NEUTRAL, position it on a hoist.

2. Remove the LH front seat.

3. Remove the selector lever trim ring.

4. Lift upward and open the storage compartment lid.

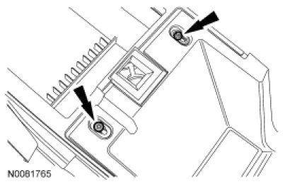
5. Remove the 2 floor console finish panel screws.





6. Remove the floor console finish panel.

7. Remove the LH floor console trim panel in the following sequence.

1. Pull the floor console trim panel outward to release the retaining clips.

2. Pull the front of the floor console trim panel downward to detach the trim panel from the pin-type retainers.

3. Remove the floor console trim panel.

- Disconnect the connector for the LH floor console trim panel.

8. Disconnect the selector lever cable from the selector lever.





9. Remove the selector cable from the selector lever cable bracket.





10. NOTE: Console removed for clarity.

Disconnect the selector lever cable retainer from the floor and route the cable out from under the heater housing.





11. Remove the selector lever cable grommet nuts at the bulkhead.





12. Disconnect the Mass Air Flow (MAF) sensor connector.





13. Disconnect the engine breather from the Air Cleaner (ACL) assembly.





14. Remove the 2 ACL assembly bolts.





15. Loosen the ACL outlet pipe clamp at the Throttle Body (TB) and remove the ACL and ACL outlet pipe assembly.





16. Disconnect the selector lever cable retainer from the brake tube bracket.





17. Disconnect the selector lever cable end from the manual control lever.





18. Depress the 2 tabs, remove the selector lever cable from the bracket and remove the selector lever cable.





Installation

1. Position the selector lever cable in the vehicle and install the cable in the bracket.
- Be sure the tabs are locked in place.





2. Connect the selector lever cable retainer on the brake tube bracket.





3. Install the selector lever cable, position the selector lever cable grommet in place and install the 2 nuts.
- Tighten to 7 Nm (62 lb-in).





4. Route the selector lever cable under the heater housing and connect the selector lever cable retainer to the floor.





5. Install the selector lever cable on the selector lever housing.
- Be sure the tabs are locked in place.





6. Connect the selector lever cable end on the selector lever.





7. Install the LH floor console trim panel.

8. Install the floor console finish panel and screws.
- Tighten to 5 Nm (44 lb-in).





9. Place the selector lever in DRIVE.





10. Install the selector lever trim ring.

11. Install the LH front seat.

12. Place the manual control lever in DRIVE.

1. Rotate the manual control lever clockwise until it stops.

2. Rotate the manual control lever counterclockwise one detent.





13. Unlock the adjuster by sliding the locking tab over.





14. Slide the selector lever cable end forward or backward to align it with the manual control lever.





15. With the adjuster locking tab unlocked, connect the selector lever cable end to the manual control lever.





16. Slide the adjuster tab to the LOCK position.





17. Position the ACL assembly in place and install the 2 bolts.
- Tighten to 11 Nm (97 lb-in).





18. Tighten the ACL outlet pipe at the TB.
- Tighten to 5 Nm (44 lb-in).





19. Connect the engine breather to the ACL assembly.





20. Connect the MAF sensor connector.





21. Install the center console.

22. Verify that the vehicle starts in PARK and NEUTRAL only and that the reverse lamps illuminate in REVERSE.