Curiosii for ever!: Car repair manuals for everyone.

Wiper Arm: Adjustments

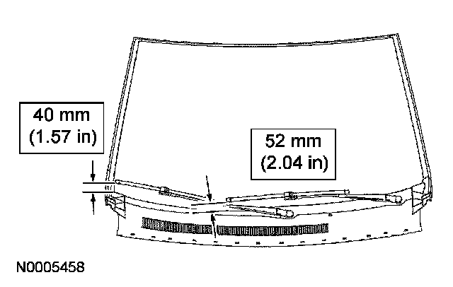
WIPER BLADE AND PIVOT ARM ADJUSTMENT - WINDSHIELD

1. Cycle and park the windshield wipers.
2. Verify that the RH and LH wiper blades are located at the specified position.







3. NOTE: Make sure there is no mechanical binding in the linkage preventing the wiper arms from returning to the full PARK position.

If not within specification, remove the wiper pivot arms and reposition to the correct location.