Curiosii for ever!: Car repair manuals for everyone.

Procedures

Power Transfer Unit (PTU) Draining and Filling

Material:





CAUTION: New power transfer unit (PTU) lubricant must be installed any time the PTU has been submerged in water.

NOTE: The PTU is lubricated for life. It is not to be drained unless a leak is suspected or a repair is necessary. To drain the PTU fluid, the PTU must be removed from the vehicle.

NOTE: Fill level checks are done in-vehicle only. Let the vehicle sit 10 minutes after the road test before checking the fluid level.

1. With the vehicle in NEUTRAL, position it on a hoist.

2. NOTE: Clean the area around the fill plug before removing.

Remove the fill plug.





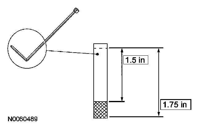
3. Using a tie strap, measure 44.5 mm (1.75 inch) from the end and bend it at a 90-degree angle, measure from the end up to 38.1 mm (1.5 inch) and place an index mark. Place it in the filler opening and check the fluid. The correct fluid level will be between the bottom of the dipstick and the 38.1 mm (1.5 inch) maximum fill mark.
- Adjust the fluid level as necessary. Slowly add fluid in to the correct fill specification.
- Do not overfill the PTU. This will cause the fluid to be forced out of the unit.








4. Apply thread sealant to the threads and install the fill plug.
- Tighten to 20 Nm (15 ft. lbs.).