Curiosii for ever!: Car repair manuals for everyone.

Electronic Brake Control Module: Service and Repair

Anti-Lock Brake System (ABS) Module

Anti-Lock Brake System (ABS) Module:





Removal and Installation
1. Remove the air cleaner.
2. Disconnect the battery ground cable.
3. Disconnect the anti-lock brake system (ABS) module electrical connector.
4. Disconnect the hydraulic control unit (HCU) pump motor electrical connector.

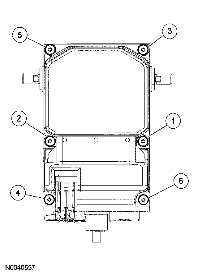
5. NOTE: Care must be taken when removing the module from the hydraulic control unit (HCU).

Remove the ABS module.
^ Remove the screws in the sequence shown.
^ To install, tighten to 3 Nm (27 inch lbs.).





6. NOTE: Make sure that the ABS module-to-HCU gasket surfaces are clean and that the gasket is correctly installed.

To install, reverse the removal procedure.