Curiosii for ever!: Car repair manuals for everyone.

Valve

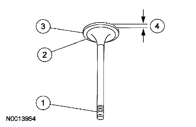
Valve Stem Diameter





1. Measure the diameter of each intake and exhaust valve stem at the points shown. Verify the diameter is within specification.
^ If out of specification, install new components as necessary.

Valve Inspection





1. Inspect these valve areas:
1 The end of the stem for grooves or scoring.
2 The valve face and the edge for pits, grooves or scores.
3 The valve head for signs of burning, erosion, warpage and cracking.
4 The valve margin for wear.