Curiosii for ever!: Car repair manuals for everyone.

Cylinder Block Core Plug Replacement

Cylinder Block Core Plug Replacement

Special Tools And Equipment:





Special Tool(s)

Material:





Material





1. Use a slide hammer or tools suitable to remove the cylinder block core plug.
2. Inspect the cylinder block plug bore for any damage that would interfere with the correct sealing of the plug. If the cylinder block plug bore is damaged, bore for the next oversize plug.

3. NOTE: Oversize plugs are identified by the OS stamped in the flat located on the cup side of the plug.

Coat the cylinder block core plug and bore lightly with Threadlock (R) 262 and install the cylinder block core plug.

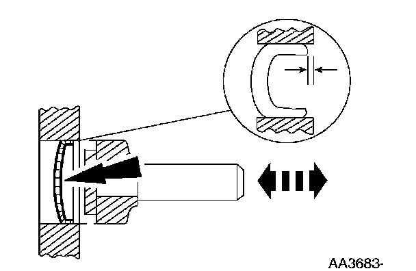
Cup-Type

1. CAUTION: Use care during this procedure so as not to disturb or distort the cup sealing surface.

CAUTION: When installed, the flanged edge must be below the chamfered edge of the bore to effectively seal the bore.





Use a tool suitable to seat the cup-type cylinder block core plug.

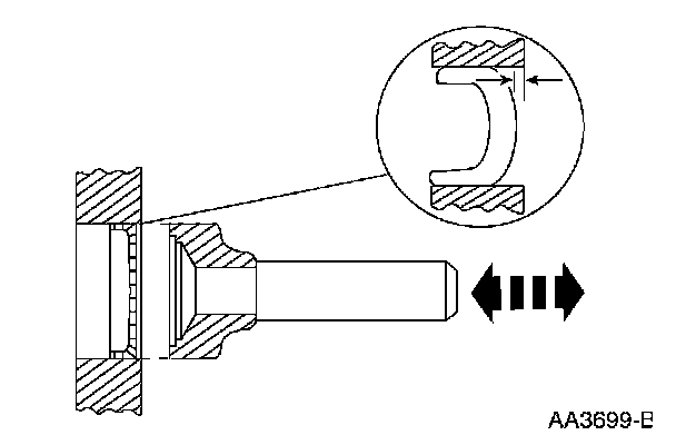
Expansion-Type

1. CAUTION: Do not contact the crown when installing an expansion-type cylinder block core plug. This could expand the plug before seating and result in leakage.





Use tool suitable to seat the expansion-type cylinder block core plug.