Curiosii for ever!: Car repair manuals for everyone.

Window Glass: Adjustments

DOOR WINDOW GLASS ADJUSTMENT

1. Remove the front door trim panel.
2. Remove the watershield.







3. Partially lower the front door window glass.







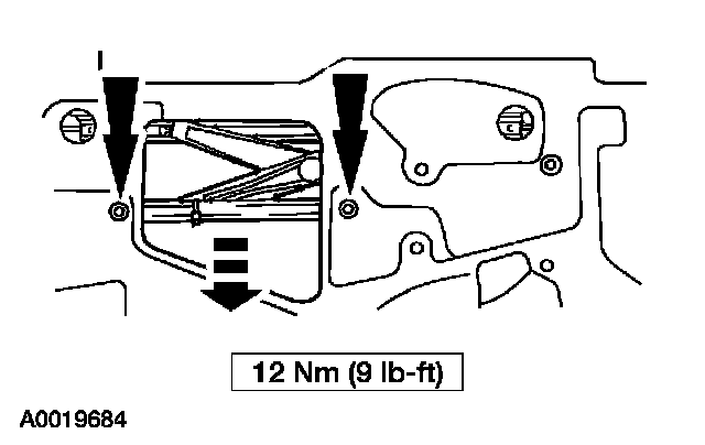
4. Loosen the window regulator equalizer arm bracket nuts.







5. Seat the front door window glass to the front door glass top run.







6. Push the window regulator equalizer arm bracket down and tighten the nuts.
7. Cycle the window regulator motor fully to verify normal operation.
8. Install the watershield.
9. Install the front door trim panel.