Curiosii for ever!: Car repair manuals for everyone.

Front Door Window Regulator: Service and Repair

FRONT DOOR WINDOW REGULATOR AND MOTOR

Heavy Duty Riveter:






SPECIAL TOOL(S)

REMOVAL
1. Remove the front door window glass.
2. Disconnect the front door window regulator motor electrical connector.






3. Remove the window regulator rivets.
4. Remove the front door window regulator.






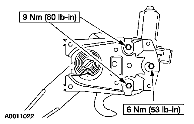
5. WARNING: If the front door power window regulator counterbalance spring must be removed or replaced for any reason, make sure that the front door power window regulator arms are in a fixed position prior to removal to prevent possible injury during C-spring unwind.

Remove the bolts and the window regulator motor.

INSTALLATION

1. NOTE: Use the special tool to install the rivets.

To install, reverse the removal procedure.