Curiosii for ever!: Car repair manuals for everyone.

Camshaft, Engine

Camshaft
Theoretical valve lift @ 0 lash 9.80 mm (0.388 inch)
Lobe lift 4.80 mm (0.189 inch)
Allowable lobe lift loss 0.76 mm (0.003 inch)
Journal diameter (all) 26.962 - 26.936 mm (1.061 - 1.060 inch)
Camshaft journal bore inside diameter 27.012 - 26.987 mm (1.063 - 1.062 inch)
Camshaft journal-to-bearing clearance - standard 0.025 - 0.076 mm (0.001 - 0.0029 inch)
Camshaft journal-to-bearing clearance - service limit 0.121 mm (0.0047 inch)
Runout
End play - service limit 0.190 mm (0.00748 inch)





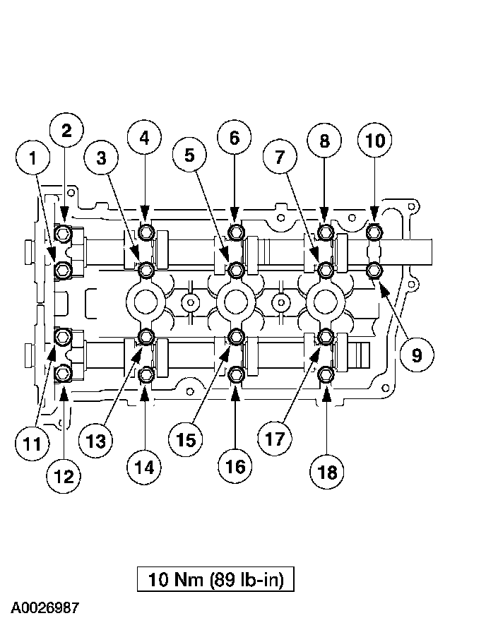
Camshaft cap bolts 10 Nm (89 inch lbs.)