Curiosii for ever!: Car repair manuals for everyone.

Manual A/C

CLIMATE CONTROL ASSEMBLY - MANUAL A/C

REMOVAL







1. Remove the finish panel.







2. Disconnect the connector.







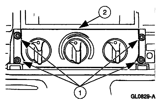
3. Remove the climate control head.
1 Remove the screws.
2 Remove the climate control head.







4. Disconnect the climate control assembly.
1 Disconnect the electrical connectors.
2 Disconnect the vacuum line connector.

INSTALLATION
1. To install, reverse the removal procedure.