Curiosii for ever!: Car repair manuals for everyone.

Cylinder Head Assembly

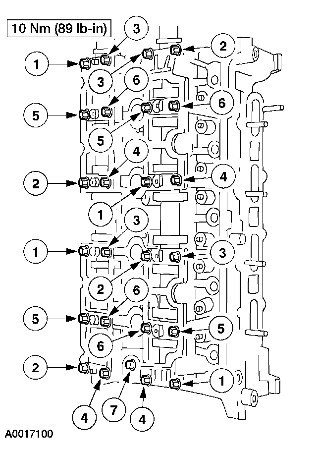
CAUTION: The cylinder head bolts must be discarded and new bolts installed. They are tighten-to-yield designed and cannot be reused.










Cylinder head bolts
Stage 1 40 Nm (30 ft. lbs.).
Stage 2 additional 90 degrees.
Stage 3 Loosen the bolts a minimum of one full turn.
Stage 4 40 Nm (30 ft. lbs.).
Stage 5 additional 90 degrees.
Stage 6 additional 90 degrees.

Cylinder head gasket surface flatness 0.10 mm (0.004 inch) maximum overall





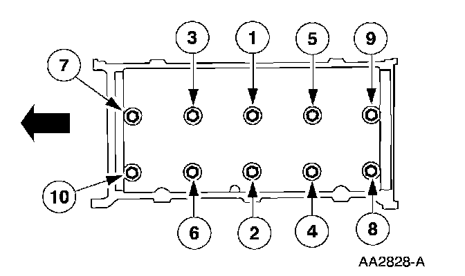
Upper Intake Manifold bolts





Lower Intake Manifold bolts

RH:




LH:





Exhaust Manifold bolts
Camshaft sprocket bolts 115 Nm (85 ft. lbs.)





Camshaft cap cluster to cylinder head 19 Nm (14 ft. lbs.)