Curiosii for ever!: Car repair manuals for everyone.

Electronic Brake Control Module: Service and Repair

Anti-Lock Brake System (ABS) Module

Removal and Installation
1. Disconnect the battery ground cable.





2. Disconnect the anti-lock brake system module electrical connectors.
^ Disconnect the control module electrical connector.
^ Disconnect the pump motor electrical connector.





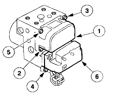
3. NOTE: Do not pry the module from the HCU.

Remove the anti-lock brake system module.
^ Remove the screws in the sequence shown.
^ Remove the module.

4. NOTE: When the battery is disconnected and reconnected, some abnormal drive symptoms may occur while the vehicle relearns its adaptive strategy. The vehicle may need to be driven 16 km (10 mi) car more to relearn its strategy.

NOTE: Be sure the ABS module-to-HCU gasket is clean and installed correctly.

To install, reverse the removal procedure.