Curiosii for ever!: Car repair manuals for everyone.

Compressor Shaft Seal: Service and Repair






SPECIAL TOOL(S)

REMOVAL
1. Remove the A/C clutch from the A/C compressor.







2. Remove the shaft seal felt from the nose of the A/C compressor with the special tool.
3. Clean the compressor nose area.







4. Insert the tip of the special tool into one of the snap ring eyes.







5. Rotate the special tool to position the tool tip and the snap ring eye closest to the A/C compressor shaft.







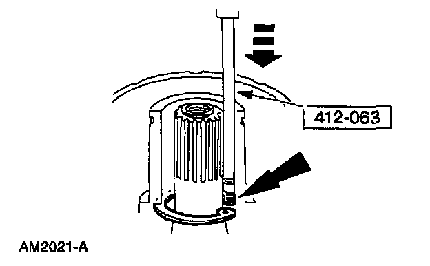
6. Pull the special tool up quickly while keeping the tool shaft against the side of the nose opening and remove the snap ring.







7. Engage the special tool into the inside diameter of the shaft seal.







8. Turn the tool handle clockwise to expand the tool tip inside of the shaft seal.







9. Pull the seal from the A/C compressor.

INSTALLATION
1. Clean the A/C compressor nose area.

CAUTION: To prevent refrigerant system contamination, do not allow dirt or other foreign materials to enter the A/C compressor.







2. Place the shaft seal on the special tool. Lubricate the shaft seal and the special tool with PAG oil or equivalent.







3. Position the shaft seal and the special tool over the A/C compressor shaft.







4. Push the shaft seal onto the A/C compressor shaft with the special tool until seated.







5. Install the shaft seal snap ring.
6. Carry out the A/C Compressor- External leak Test. A/C Compressor - External Leak Test







7. Install the shaft seal felt.
8. Install the A/C clutch.