Curiosii for ever!
: Car repair manuals for everyone.
Home
>>
Mercury
>>
2002
>>
Sable V6-3.0L VIN 2 Flex Fuel
>>
Repair and Diagnosis
>>
Heating and Air Conditioning
>>
Discharge Air Temperature Sensor / Switch
>>
Locations
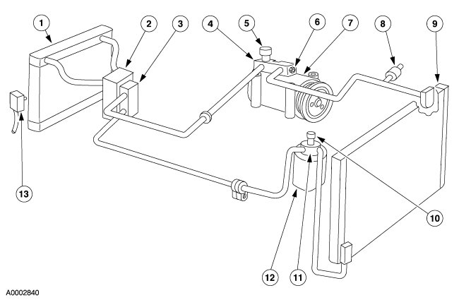
Discharge Air Temperature Sensor / Switch: Locations
Refrigeration System Components