Curiosii for ever!
: Car repair manuals for everyone.
Home
>>
Mercury
>>
1999
>>
Sable V6-3.0L VIN U
>>
Repair and Diagnosis
>>
Windows and Glass
>>
Windows
>>
Power Window Switch
>>
Testing and Inspection
>>
Right Rear Power Window Switch
Right Rear Power Window Switch
Component Testing Procedure:
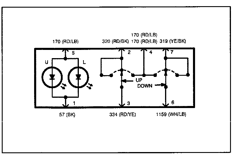
Terminal - Right Rear Window Switch:
Schematic - Right Rear Window Switch: