Curiosii for ever!: Car repair manuals for everyone.

Ignition Switch Continuity Test









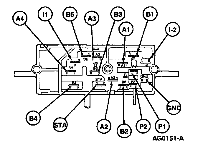
Disconnect connector C299 from the ignition switch. Test the ignition switch continuity as follows. Connect a self-powered test lamp or ohmmeter between the blade terminals indicated on the chart in the illustration. No continuity between any blade and the ground terminal should exist in any ignition switch position except the proof and ground pins (P-1, P-2 and GND) in the START position only.

For an "engine will not crank" condition, determine if the condition exists with the gearshift lever in both the PARK and NEUTRAL positions before performing the ignition switch continuity test. If the "no-crank" condition occurs in one shift lever position but not the other, a more probable cause is the transmission range (TR) sensor located on the transaxle.