Curiosii for ever!
: Car repair manuals for everyone.
Home
>>
Mercury
>>
1999
>>
Grand Marquis V8-4.6L VIN W
>>
Repair and Diagnosis
>>
Powertrain Management
>>
Computers and Control Systems
>>
Testing and Inspection
>>
Pinpoint Tests
>>
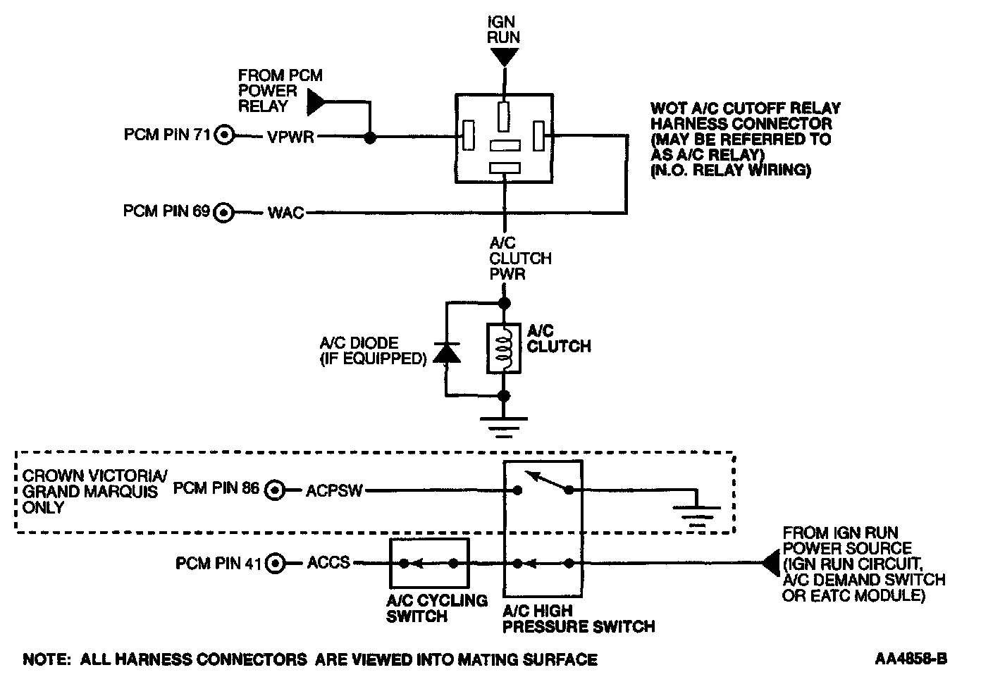
KM - Wide Open Throttle (WOT) A/C Cutoff Relay, A/C Circuits
>>
Pinpoint Test Schematics
Pinpoint Test Schematics