Curiosii for ever!: Car repair manuals for everyone.

Multi-Function Switch Component Testing Procedures





COMPONENT TESTING PROCEDURES

Multi-Function Switch - Component Testing Procedure:





Multi-Function Switch-Component Testing Procedure:





Multi-Function Switch-Component Testing Procedure:






TERMINAL IDENTIFICATION

Multi-Function Switch - Terminal Locations:






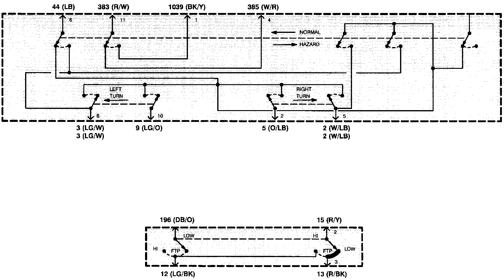
SCHEMATIC

Multi-Function Switch - Schematic:





Multi-Function Switch - Schematic (Wiper/Washer Portion):