Curiosii for ever!
: Car repair manuals for everyone.
Home
>>
Mercury
>>
1996
>>
Sable V6-182 3.0L
>>
Repair and Diagnosis
>>
Lighting and Horns
>>
Turn Signals
>>
Combination Switch
>>
Testing and Inspection
>>
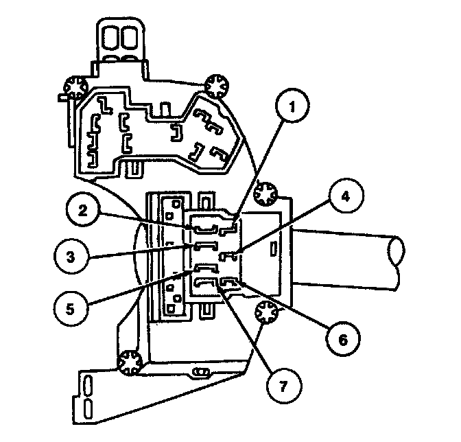
Front Interval Wiper/Washer Switch Testing
Front Interval Wiper/Washer Switch Testing
Testing should be done with an ohmmeter such as Rotunda Digital Volt-Ohmmeter 014-00407 or equivalent.
NOTE:
Terminals 1, 4 and 6 are the only ones used for this test.