Power Window Switch: Testing and Inspection
Master Window Control Switch - Component Testing Procedure:
Master Window Control Switch - Component Testing Procedure:
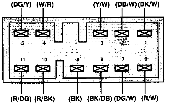
Master Window Control Switch - Terminal Locations:
Master Window Control Switch - Schematic: