Curiosii for ever!
: Car repair manuals for everyone.
Home
>>
Mercury
>>
1995
>>
Sable V6-182 3.0L
>>
Repair and Diagnosis
>>
Lighting and Horns
>>
Turn Signals
>>
Combination Switch
>>
Testing and Inspection
>>
Multi-Function Switch Component Testing Procedures
Multi-Function Switch Component Testing Procedures
COMPONENT TESTING PROCEDURES
Component Testing Procedure:
Component Testing Procedure:
Component Testing Procedure:
TERMINAL IDENTIFICATION
Multi-Function Switch - Terminal Locations:
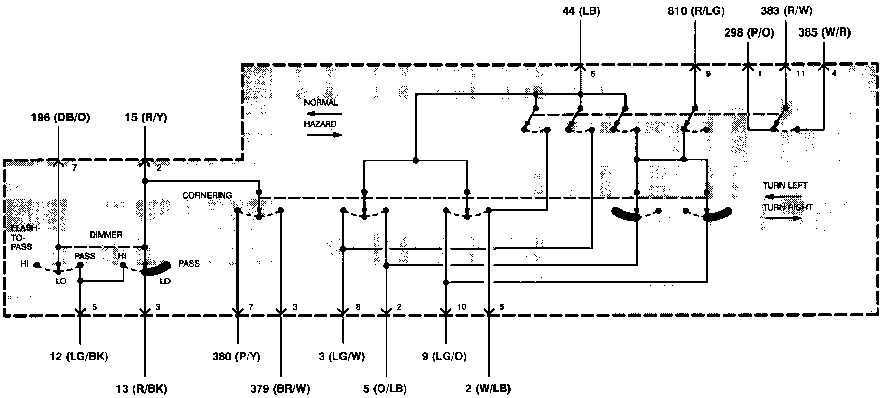
SCHEMATIC
Multi-Function Switch - Schematic:
Multi-Function Switch - Schematic: