Curiosii for ever!
: Car repair manuals for everyone.
Home
>>
Mercury
>>
1994
>>
Cougar/XR7 V8-281 4.6L SOHC
>>
Repair and Diagnosis
>>
Powertrain Management
>>
Computers and Control Systems
>>
Testing and Inspection
>>
Pinpoint Tests
>>
H - Fuel Control
>>
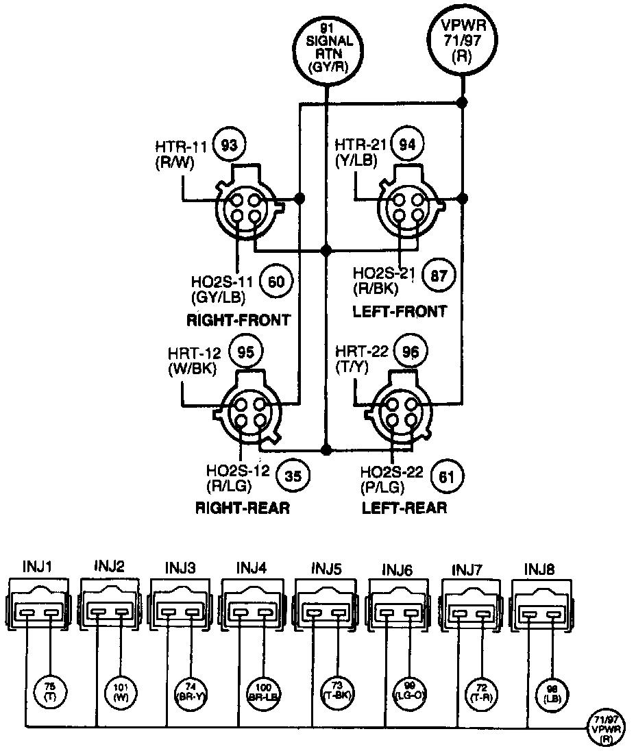
Pinpoint Test Schematic
Pinpoint Test Schematic
Pinpoint Test Schematic: