Curiosii for ever!
: Car repair manuals for everyone.
Home
>>
Mercury
>>
1993
>>
Tracer L4-116 1.9L SOHC
>>
Repair and Diagnosis
>>
Powertrain Management
>>
Computers and Control Systems
>>
Transmission Position Sensor/Switch
>>
Diagrams
>>
Electrical Diagrams
Electrical Diagrams
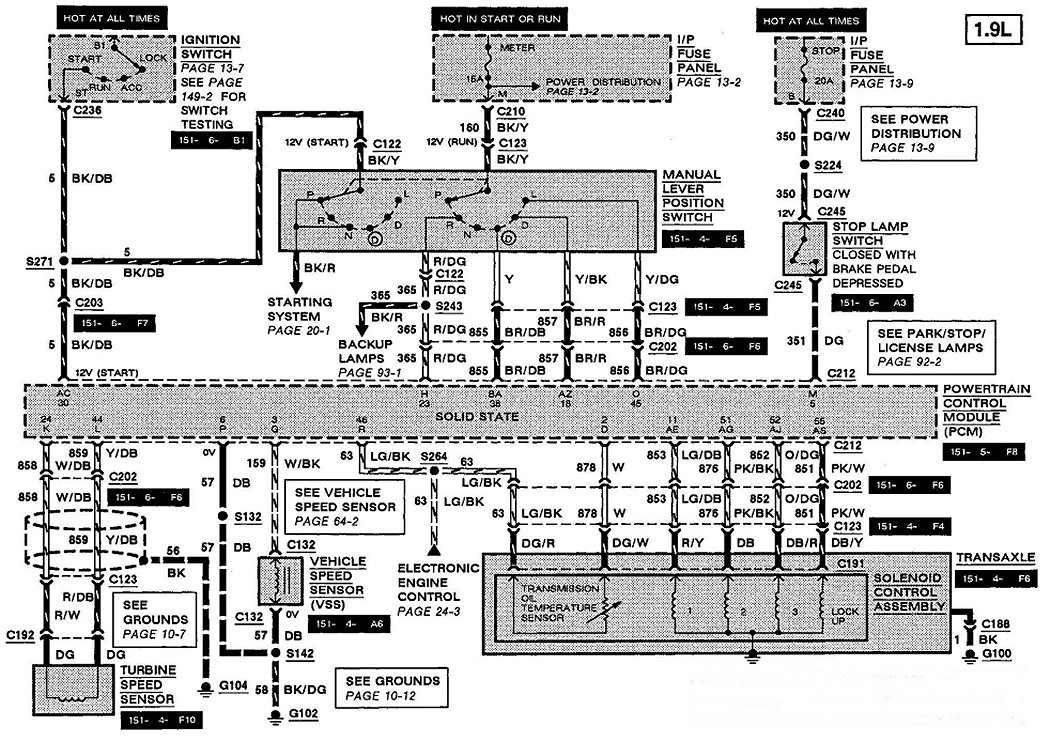
C123/C122-Manual Lever Position Switch
29-2:
29-2: