Curiosii for ever!
: Car repair manuals for everyone.
Home
>>
Mercury
>>
1993
>>
Tracer L4-110 1.8L DOHC
>>
Repair and Diagnosis
>>
Powertrain Management
>>
Computers and Control Systems
>>
Transmission Position Sensor/Switch
>>
Diagrams
>>
Connector Views
Connector Views
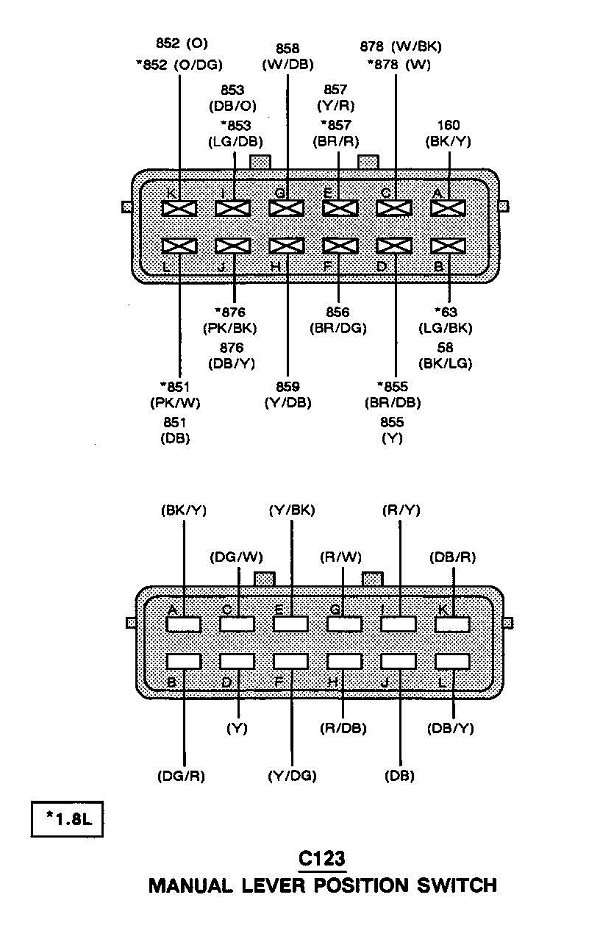
C123/C122-Manual Lever Position Switch
C123-MLP (1 Of 2):
C123-MLP (2 Of 2):
C122-MLP: