Curiosii for ever!: Car repair manuals for everyone.

Test Notes and Schematics





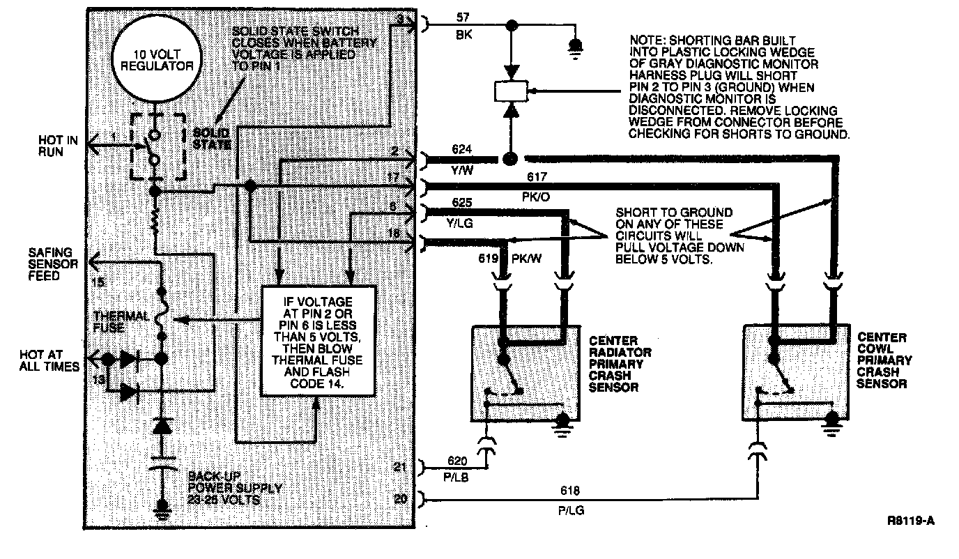
Electrical Schematic


Normal Operation
The diagnostic monitor measures the voltage at Pins 2 and 6 of the diagnostic monitor connector. The normal voltage at these pins is approximately 10 volts (± 1 volt) when the ignition switch is ON, or battery voltage when the ignition switch is OFF. If the diagnostic monitor detects that the voltage at Pins 2 or 6 has dropped to 5 volts or less, the monitor will flash out code 14 on the air bag indicator to indicate a short to ground on any of these circuits (refer to Possible Causes for additional circuits that may be shorted to ground). When flashing code 14, the diagnostic monitor blows its internal thermal fuse. This disables the air bag deployment circuit. If the voltage at Pins 2 and 6 returns to normal, a diagnostic trouble code 51 will be present due to the open thermal fuse. (Refer to Diagnostic Trouble Code 51).

NOTE: Diagnostic Trouble Code 14 will flash only while the short to ground is present.

Possible Causes
A drop in voltage at diagnostic monitor Pins 2 and 6 can be caused by:

1. A short to ground within the wiring harness on Circuits 624 (Y/W), 625 (Y/LG), 617 (PK/O) or 619 (PK/W) causing the diagnostic voltage to drop.

NOTE: The Gray diagnostic monitor harness connector contains a shorting bar inside the connector that will short Pins 2 and 3 together whenever the diagnostic monitor is disconnected. Since Pin 3 is ground, shorting Pin 2 to Pin 3 will cause a short to ground on both Pins 2 and 17. Make sure to remove the plastic locking wedge from the Gray harness connector before checking resistance of these circuits to ground.

2. An internal short to case ground within either of the primary crash sensors.