Curiosii for ever!: Car repair manuals for everyone.

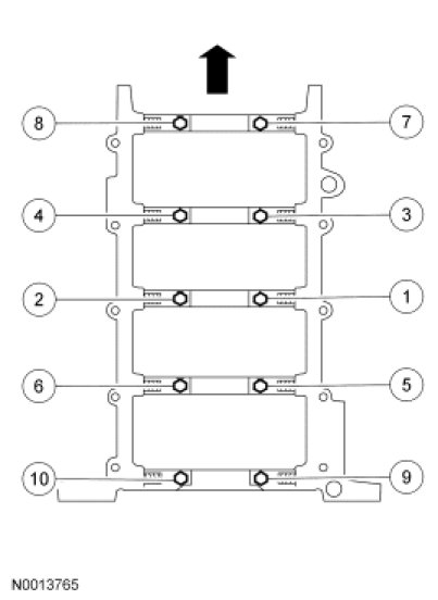
Main Bearing Cap

Tighten the 10 vertical main bearing cap fasteners in the sequence shown, in 2 stages.
Stage 1: Tighten to 40 Nm (30 lb-ft).
Stage 2: Tighten an additional 90 degrees.





Tighten the 10 jackscrews against the cylinder block in the sequence shown in 2 stages.
Stage 1: Tighten to 5 Nm (44 lb-in).
Stage 2: Tighten to 10 Nm (89 lb-in).





Tighten the 10 side bolts in the sequence shown.
Tighten to 21 Nm (15 lb-ft).