Curiosii for ever!: Car repair manuals for everyone.

Pinpoint Tests AD: DTC B2909




Air Bag and Safety Belt Pretensioner Supplemental Restraint System (SRS)

Pinpoint Test - Occupant Classification System Module (OCSM)

Pinpoint Test AD: DTC B2909

Refer to Wiring Diagram Set 46 (Escape/Mariner, Escape Hybrid/Mariner Hybrid), Supplemental Restraint System for schematic and connector information. Diagrams By Number

Normal Operation

The Belt Tension Sensor (BTS) operates in conjunction with the Occupant Classification Sensor (OCS) system. The OCS system interprets a variable voltage signal provided by the BTS to identify the possible presence of a child safety seat in the front passenger seat. The voltage output of the BTS is proportional to the amount of tension applied to the sensor by the belt, no tension low voltage (approximately 0.95 volt), high tension high voltage (approximately 3.8 volts).

The Occupant Classification System Module (OCSM) monitors the pressure sensor, BTS and all circuitry for faults. If the OCSM detects a fault on any of the BTS circuits, it will store DTC B2909 in memory and send a message to the Restraints Control Module (RCM), which will store DTC B00A0:09 in memory and send a message to the Instrument Cluster (IC) module to illuminate the air bag warning indicator.

The OCS system components (seat wiring harness, seat cushion frame, seat cushion foam pad, bladder with pressure sensor and OCSM) are calibrated to each other and are serviced as an assembly. The OCS system components are not to be installed separately with the exception of the BTS. If a new OCS system, OCS system component or seat cushion foam pad are needed, a new OCS system service kit must be installed as an assembly.





a Fault PIDs that end in OD indicate an on-demand status and are associated with on-demand DTC B2909. Fault PIDs that end in CM indicate continuous memory status and are associated with continuous DTC B2909.

This pinpoint test is intended to diagnose the following:
- Wiring, terminals or connectors
- BTS (part of RH front safety belt retractor)
- OCSM



PINPOINT TEST AD: DTC B2909

WARNING: Never probe the electrical connectors on air bag, Safety Canopy(R) or side air curtain modules. Failure to follow this instruction may result in the accidental deployment of these modules, which increases the risk of serious personal injury or death.

WARNING: Never probe the electrical connectors on safety belt buckle/retractor pretensioners or adaptive load limiting retractors. Failure to follow this instruction may result in the accidental deployment of the safety belt pretensioners or adaptive load limiting retractors, which increases the risk of serious personal injury or death.

NOTICE: Use the correct probe adapter(s) from the Flex Probe Kit when taking measurements. Failure to use the correct probe adapter(s) may damage the connector.

Most faults are due to connector and/or wiring concerns. Carry out a thorough inspection and verification before proceeding with the pinpoint test.
Inspection and Verification

NOTE: Supplemental Restraint System (SRS) components should only be disconnected or reconnected when instructed to do so within a pinpoint test step. Failure to follow this instruction may result in incorrect diagnosis of the SRS.

NOTE: The SRS must be fully operational and free of faults before releasing the vehicle to the customer.

-------------------------------------------------
AD1 RETRIEVE OCSM DTCs


- Enter the following diagnostic mode on the scan tool: Self Test - OCSM.
- Enter the following diagnostic mode on the scan tool: DataLogger - OCSM - View and Record All 2909 Fault PIDs.
- Refer to PID list in Normal Operation to view 2909 fault PIDs.
- Do any on-demand 2909 fault PIDs indicate a fault?

Yes
This fault cannot be cleared until it is corrected and the DTC is no longer retrieved on-demand during self-test.

For fault PID 2909_31_OD (Front Passenger Side Belt Tension Sensor Circuit Fault), GO to AD2.

For fault PID 2909_28_OD (Front Passenger's Side Belt Tension Sensor Short to Battery), GO to AD8.

For fault PID2909_30_OD (Front Passenger's Side Belt Tension Sensor Open Circuit), GO to AD9.

For fault PID 2909_29_OD (Front Passenger Side Belt Tension Sensor Short to Ground), GO to AD10.

No
This is an intermittent fault when present as a CMDTC only. The fault condition is not present at this time. GO to AD14.

-------------------------------------------------
AD2 CHECK BTS CIRCUITS FOR A SHORT TO VOLTAGE


- Ignition OFF.
- Depower the SRS. Refer to Supplemental Restraint System (SRS) Depowering and Repowering Supplemental Restraint System (SRS) Depowering and Repowering.
- Disconnect: Passenger Seat Side Air Bag Module C337.
- Disconnect: Passenger Safety Belt Buckle Pretensioner C3202.
- Disconnect: BTS C389.
- Disconnect: OCSM C3285.
- Repower the SRS. Do not prove out the SRS at this time. Refer to Supplemental Restraint System (SRS) Depowering and Repowering Supplemental Restraint System (SRS) Depowering and Repowering.
- Ignition ON.
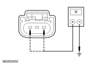
- Measure the voltage between OCSM:
- C3285-11, circuit LR142 (YE/BU), harness side and ground.
- C3285-12, circuit RR142 (GN), harness side and ground.




- Is voltage present on either circuit?

Yes
REPAIR circuit LR142 (YE/BU) or RR142 (GN). GO to AD15.

No
GO to AD3.

-------------------------------------------------
AD3 CHECK BTS CIRCUITS FOR AN OPEN


- Ignition OFF.
- WARNING: Turn the ignition OFF and wait one minute to deplete the backup power supply. Failure to follow this instruction may result in serious personal injury or death in the event of an accidental deployment.
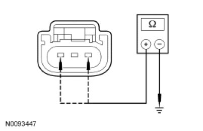
- Measure the resistance between OCSM C3285, harness side and BTS C389, harness side using the following chart.









- Are the resistances less than 0.5 ohm?

Yes
GO to AD4.

No
REPAIR circuit LR142 (YE/BU), GD183 (BK/WH) or RR142 (GN).

GO to AD15.

-------------------------------------------------
AD4 CHECK BTS CIRCUITS FOR A SHORT TO GROUND


- Measure the resistance between OCSM:
- C3285-11, circuit LR142 (YE/BU), harness side and ground.
- C3285-12, circuit RR142 (GN), harness side and ground.




- Are the resistances greater than 10,000 ohms?

Yes
GO to AD5.

No
REPAIR circuit LR142 (YE/BU) or RR142 (GN). GO to AD15.

-------------------------------------------------
AD5 CHECK FOR A SHORT BETWEEN BTS CIRCUITS


- Measure the resistance between BTS:
- C389-1, circuit LR142 (YE/BU), harness side and C389-3, circuit RR142 (GN), harness side.
- C389-1, circuit LR142 (YE/BU), harness side and C389-2, circuit GD183 (BK/WH), harness side.
- C389-3, circuit RR142 (GN), harness side and C389-2, circuit GD183 (BK/WH), harness side.




- Are the resistances greater than 10,000 ohms?

Yes
GO to AD6.

No
REPAIR the affected circuits. GO to AD11.

-------------------------------------------------
AD6 CHECK OCSM OUTPUT


- Connect: OCSM C3285.
- Ignition ON.
- Measure the voltage between BTS C389-1, circuit LR142 (YE/BU), harness side and C389-2, circuit GD183 (BK/WH), harness side.




- Is the voltage approximately 5 volts?

Yes
GO to AD7.

No
INSTALL a new OCS system service kit. REFER to Occupant Classification Sensor - Service Kit Occupant Classification Sensor - Service Kit.
GO to AD15.

-------------------------------------------------
AD7 CHECK BTS VOLTAGE OUTPUT


- Ignition OFF.
- WARNING: Turn the ignition OFF and wait one minute to deplete the backup power supply. Failure to follow this instruction may result in serious personal injury or death in the event of an accidental deployment.
- Connect a fused jumper lead between BTS C389 pin 1, circuit LR142 (YE/BU), harness side and pin 1, circuit LR142 (YE/BU), component side.
- Connect a fused jumper lead between BTS C389 pin 2, circuit GD183 (BK/WH), harness side and pin 2, circuit GD183 (BK/WH), component side.
- Ignition ON.
- Measure the voltage between BTS C389 pin 3, circuit RR142 (GN), component side and ground as the tension of the BTS varies by pulling upward at the safety belt webbing.




- Does the voltage vary from approximately 0.95 volt with no tension applied to the sensor to approximately 3.8 volts with full tension applied to the sensor?

Yes
GO to AD13.

No
INSTALL a new RH safety belt retractor assembly. GO to AD15.

-------------------------------------------------
AD8 CHECK BTS CIRCUITS FOR A SHORT TO VOLTAGE


- Ignition OFF.
- WARNING: Turn the ignition OFF and wait one minute to deplete the backup power supply. Failure to follow this instruction may result in serious personal injury or death in the event of an accidental deployment.
- Disconnect: BTS C389.
- Repower the SRS. Do not prove out the SRS at this time. Refer to Supplemental Restraint System (SRS) Depowering and Repowering Supplemental Restraint System (SRS) Depowering and Repowering.
- Ignition ON.
- Measure the voltage between BTS:
- C389-3, circuit RR142 (GN), harness side and ground.
- C389-1, circuit LR142 (YE/BU), harness side and ground.




- Is there approximately 5 volts for C389-1 and no voltage present on C389-3?

Yes
GO to AD13.

No
REPAIR circuit RR142 (GN) or LR142 (YE/BU). GO to AD15.

-------------------------------------------------
AD9 CHECK BTS CIRCUIT FOR AN OPEN


- Ignition OFF.
- WARNING: Turn the ignition OFF and wait one minute to deplete the backup power supply. Failure to follow this instruction may result in serious personal injury or death in the event of an accidental deployment.
- Depower the SRS. Refer to Supplemental Restraint System (SRS) Depowering and Repowering Supplemental Restraint System (SRS) Depowering and Repowering.
- Disconnect: BTS C389.
- Disconnect: OCSM C3285.
- Measure the resistance between OCSM C3285, harness side and BTS C389, harness side using the following chart.









- Are the resistances less than 0.5 ohm?

Yes
GO to AD11.

No
REPAIR circuit RR142 (GN), VR142 (YE/BU) or GD183 (BK/WH). GO to AD15.

-------------------------------------------------
AD10 CHECK BTS CIRCUITS FOR A SHORT TO GROUND


- Ignition OFF.
- WARNING: Turn the ignition OFF and wait one minute to deplete the backup power supply. Failure to follow this instruction may result in serious personal injury or death in the event of an accidental deployment.
- Disconnect: BTS C389.
- Measure the resistance between BTS:
- C389-3, circuit RR142 (GN), harness side and ground.
- C389-1, circuit LR142 (YE/BU), harness side and ground.




- Are the resistances greater than 10,000 ohms?

Yes
GO to AD13.

No
REPAIR circuit RR142 (GN) or LR142 (YE/BU). GO to AD15.

-------------------------------------------------
AD11 CHECK OCSM OUTPUT


- Connect: OCSM C3285.
- Ignition ON.
- Measure the voltage between belt tension sensor C389-1, circuit LR142 (YE/BU), harness side and C389-2, circuit GD183 (BK/WH), harness side.




- Is the voltage approximately 5 volts?

Yes
GO to AD12.

No
INSTALL a new OCS system service kit. REFER to Occupant Classification Sensor - Service Kit Occupant Classification Sensor - Service Kit.
GO to AD15.

-------------------------------------------------
AD12 CHECK BTS VOLTAGE OUTPUT


- Ignition OFF.
- WARNING: Turn the ignition OFF and wait one minute to deplete the backup power supply. Failure to follow this instruction may result in serious personal injury or death in the event of an accidental deployment.
- Connect a fused jumper lead between BTS C389 pin 1, circuit LR142 (YE/BU), harness side and pin 1, circuit LR142 (YE/BU), component side.
- Connect a fused jumper lead between BTS C389 pin 2, circuit GD183 (BK/WH), harness side and pin 2, circuit GD183 (BK/WH), component side.
- Repower the SRS. Do not prove out the SRS at this time. Refer to Supplemental Restraint System (SRS) Depowering and Repowering Supplemental Restraint System (SRS) Depowering and Repowering.
- Ignition ON.
- Measure the voltage between BTS C389 pin 3, circuit RR142 (GN), component side and ground as the tension of the BTS varies.




- Does the voltage vary from approximately 0.95 volt with no tension applied to the sensor, to approximately 3.8 volts with full tension applied to the sensor?

Yes
GO to AD13.

No
INSTALL a new safety belt retractor assembly. GO to AD15.

-------------------------------------------------
AD13 CONFIRM THE BTS FAULT


NOTE: Make sure all OCS system components, restraint system sensor electrical connectors and the RCM electrical connectors are connected before carrying out the self-test. If not, DTCs will be recorded.

- Ignition OFF.
- Depower the SRS. Refer to Supplemental Restraint System (SRS) Depowering and Repowering Supplemental Restraint System (SRS) Depowering and Repowering.
- Prior to reconnecting any previously disconnected SRS component:
- inspect connector(s) (including any in-line connectors) for pushed-out, loose or spread terminals and loose or frayed wire connections at terminals.
- inspect wire harness for any damage, pinched, cut or pierced wires.
- inspect C2041a and C2041b connector position assurance lever/lock for correct operation. Refer to Restraints Control Module (RCM) Service and Repair.
- repair any concerns found. Refer to Wiring Diagram Set 5 (Escape/Mariner, Escape Hybrid/Mariner Hybrid), Connector Repair Procedures for schematic and connector information. Diagrams By Number

- Connect: OCSM C3285 (if disconnected previously).
- Connect: BTS C389.
- Repower the SRS. Do not prove out the SRS at this time. Refer to Supplemental Restraint System (SRS) Depowering and Repowering Supplemental Restraint System (SRS) Depowering and Repowering.
- Enter the following diagnostic mode on the scan tool: Self Test - OCSM.
- Enter the following diagnostic mode on the scan tool: DataLogger - OCSM - View and Record All 2909 Fault PIDs.
- Refer to PID list in Normal Operation to view 2909 fault PIDs.
- Does the original on-demand 2909 fault PID indicate a fault?

Yes
INSTALL a new OCS system service kit. REFER to Occupant Classification Sensor - Service Kit Occupant Classification Sensor - Service Kit.
GO to AD15.

No
In the process of diagnosing the fault, the fault condition has become intermittent. Do not install any new SRS components at this time. SRS components should only be installed when directed to do so in the pinpoint test. GO to AD14.

-------------------------------------------------
AD14 CHECK FOR AN INTERMITTENT FAULT


- Ignition OFF.
- Disconnect BTS C389:
- inspect connector(s) (including any in-line connectors) for loose or spread terminals and loose or frayed wire connections at terminals.
- inspect wire harness for any damage, pinched, cut or pierced wires.
- repair any concerns found. Refer to Wiring Diagram Set 5 (Escape/Mariner, Escape Hybrid/Mariner Hybrid), Connector Repair Procedures for schematic and connector information. Diagrams By Number

- Connect: All Previously Disconnected Component(s)/Connector(s).
- Enter the following diagnostic mode on the scan tool: Self Test - OCSM.
- Enter the following diagnostic mode on the scan tool: DataLogger - OCSM - View and Record All 2909 Fault PIDs.
- Refer to PID list in Normal Operation to view 2909 fault PIDs.
- Do any on-demand 2909 fault PIDs indicate a fault?

Yes
This is a hard fault. The fault condition is now present. This fault cannot be cleared until it is corrected and the DTC is no longer retrieved on-demand during self-test.

Using the on-demand fault PIDs recorded, GO to the appropriate pinpoint test step.

For fault PID 2909_31_OD (Front Passenger Side Belt Tension Sensor Circuit Fault), GO to AD2.

For fault PID 2909_28_OD (Front Passenger's Side Belt Tension Sensor Short to Battery), GO to AD8.

For 2909_30_OD (Front Passenger's Side Belt Tension Sensor Open Circuit), GO to AD9.

For fault PID 2909_29_OD (Front Passenger Side Belt Tension Sensor Short to Ground), GO to AD10.

No
CHECK for causes of the intermittent fault. ATTEMPT to recreate the hard fault by flexing the wire harness and cycling the ignition frequently. ACTIVATE other systems in the same wire harness. Do not install any new SRS components at this time. SRS components should only be installed when directed to do so in the pinpoint test. REPAIR any intermittent wiring, terminal or connector concerns found. GO to AD15.

-------------------------------------------------
AD15 CHECK FOR ADDITIONAL SRS DTCs


- Ignition OFF.
- WARNING: Turn the ignition OFF and wait one minute to deplete the backup power supply. Failure to follow this instruction may result in serious personal injury or death in the event of an accidental deployment.
- Reconnect all SRS components (if previously disconnected).
- If previously directed to depower the SRS, repower the SRS. Do notprove out the SRS at this time. Refer to Supplemental Restraint System (SRS) Depowering and Repowering Supplemental Restraint System (SRS) Depowering and Repowering.
- Ignition ON.
- Enter the following diagnostic mode on the scan tool: Self Test - Restraints.
- NOTE: When selecting Restraints from the Self Test menu, DTCs will be retrieved from the RCM and OCSM.
- Are any RCM and/or OCSM DTCs retrieved?

Yes
Do not clear any DTCs until all DTCs have been resolved. GO to the DTC Charts for pinpoint test direction. [1][2]Diagnostic Trouble Code Descriptions

No
CLEAR all RCM and OCSM DTCs. PROVE OUT the SRS. Repair is complete. RETURN the vehicle to the customer.

-------------------------------------------------