Curiosii for ever!
: Car repair manuals for everyone.
Home
>>
Mercury Truck
>>
2007
>>
Monterey V6-4.2L VIN 2
>>
Repair and Diagnosis
>>
Powertrain Management
>>
Relays and Modules - Powertrain Management
>>
Relays and Modules - Computers and Control Systems
>>
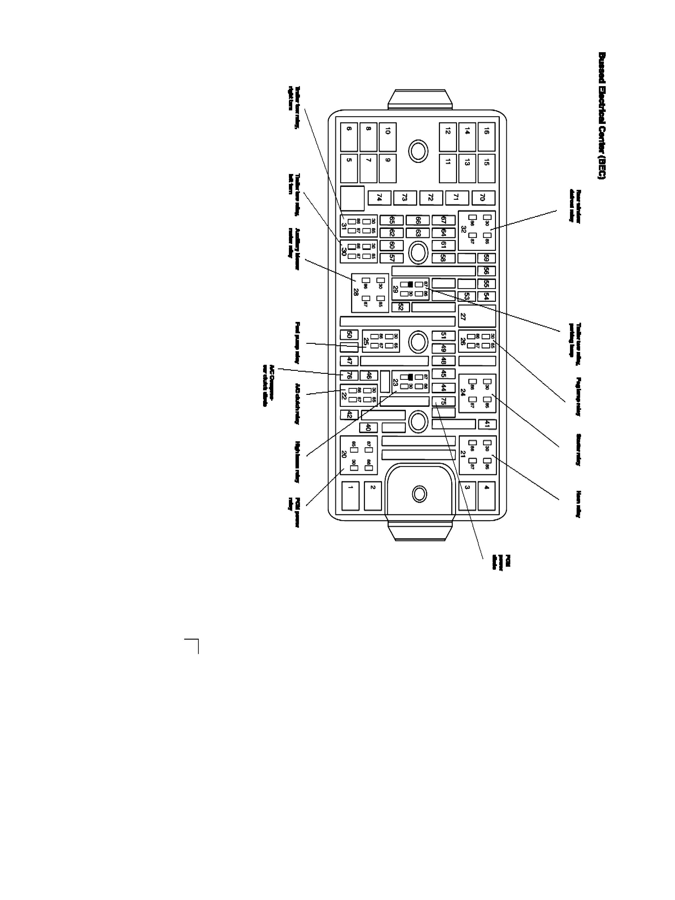
Main Relay (Computer/Fuel System)
>>
Locations
Main Relay (Computer/Fuel System): Locations