Curiosii for ever!: Car repair manuals for everyone.

System Specifications

Timing chain guide bolts 10 Nm (89 inch lbs.)
Timing chain tensioner bolts 10 Nm (89 inch lbs.)





Engine front cover bolts
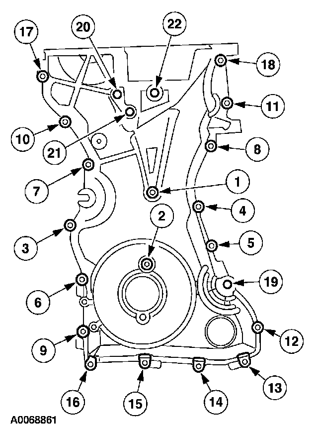
Tighten the bolts in the sequence shown, to the following specifications:
Tighten the 8-mm bolts to 10 Nm (89 inch lbs.).
Tighten the 13-mm bolts to 48 Nm (35 ft. lbs.).





Tighten the Crankshaft pulley bolt in 2 stages:
Stage 1: Tighten to 100 Nm (74 ft. lbs.) .
Stage 2: Tighten an additional 90 degrees (1/4 turn).