Curiosii for ever!: Car repair manuals for everyone.

GF00.19-P-0001QJ Extended Vehicle Networking (EVN), Function




GF00.19-P-0001QJ Extended Vehicle Networking (EVN), Function
- MODEL 209.3 /4 up to 31.5.04
- with CODE (498) Japan version







A1 Instrument cluster
A2 Radio
A6n1 STH control unit
A40/3 COMAND operating, display and control unit
N2/7 Restraint systems control unit
N10/1 Front SAM control unit with fuse and relay module
N10/2 Rear SAM control unit with fuse and relay module
N22 AAC control and operating unit
N22/6 Rear control unit (only model 209.3)
N22/7 Comfort AAC control and operating unit
N28/1 Trailer recognition control unit
N32/1 Driver front seat adjustment control unit with memory and easy entry
N32/2 Front passenger front seat adjustment control unit with memory and easy entry
N52 Power soft top control unit (only model 209.4)
N62 PTS control unit
N69/1 Left door control unit
N69/2 Right door control unit
N70 Overhead control panel control unit
N72 Lower control panel control unit
N72/1 Upper control panel control unit
N73 EIS control unit
N80 Steering column module







A1 Instrument cluster
N3/10 ME-SFI [ME] control unit
N15/3 ETC control unit
N15/5 Electronic selector lever module control unit
N15/6 automated manual transmission control unit
N47-5 ESP and BAS control unit
N63/1 DTR control unit
N73 EIS control unit
N80 Steering column module







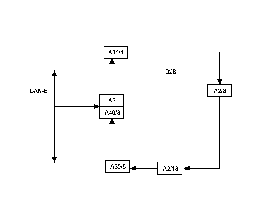
A2 Radio
A2/6 CD changer (in glove compartment)
A2/13 Sound amplifier
A34/4 Cell phone interface
A35/8 E-call control unit
A40/3 COMAND operating, display and control unit

Complete networking
The further development of driver information systems as well as the spread of driver-supported systems (e.g. backup camera, ambient sensor technology), are reflected in the requirements on bus systems. A data bus is a data collection line, the data of which can be used by all the control units connected.
In automotive engineering, Controller Area Network (databus/CAN Bus) (CAN) means that data is exchanged between all the control units in a motor vehicle via a data bus.

Function
Most control units are networked with each other via databus lines. Control commands or messages are coded and introduced into the data bus message or address orientated, with each control unit having different priority , i.e. access rights. These coded commands or messages can only be received by control units with authorized access.
The corresponding actuators are then actuated by these control units. In certain cases, various received messages are also combined in a control unit to form a new message. The new message is then also available for other control units on the data bus system.

Basically 3 data bus systems are involved in the networking:
- Controller Area Network bus Class B (interior) (CAN-B)
- Controller Area Network bus Class C (engine compartment) (CAN-C)
- Digital databus (D2B)

The following are the different fields of application:
- CAN-B networks the control units for the convenience functions and lighting equipment in the vehicle (e.g. power windows, heated rear window, external and interior lights).
- The CAN-C networks the control units for the drive and chassis systems (e.g. engine and transmission control).
- D2B uses a fiber optical cable to network the control units for the audio and navigation system (e.g. telephone).

In respect of the interference immunity, e.g. to electromagnetic effects or radiation and the high data transfer rate, higher requirements are placed on the engine compartment CAN-C.

Data transfer between the bus systems
The following control units form the interface between the bus systems:
- The EIS control unit (N73) connects the CAN-B and the CAN-C.
- The COMAND operating, display and control unit (A40/3), or the radio (A2) form the interface between the CAN-B and the D2B.

The EIS control unit (N73) also acts as the interface between the control units on CAN-B and the line to the data link connector (X11/4) for STAR DIAGNOSIS.

Steering column module (N80) and instrument cluster (A1)
Although the instrument cluster (A1) and the steering column module (N80) are connected both to the CAN-B and the CAN-C and exchange data with both systems, they do not act as an interface (gateway).

The internationally standardized network management "OSEK" (open systems and their interfaces for electronics in vehicles) is used for all the control units on the CAN-B.