Curiosii for ever!: Car repair manuals for everyone.

Engine Adjustment (Single/Dual Ignition Systems)

NOTE: Static high-voltage distribution only possible with HHT.

The test is comprised of the following:
a) Dwell
b) Ignition timing
c) On-off ratio control

NOTE: The following should be noted on engines with dual ignition systems (Engine 119 CFI and Engine 119/120 LH-SFI):
- Engine analyzer should be set to 4 cylinder (Engine 119) position or 6 cylinder position (Engine 120).
- Connect dual ignition adaptor and set to T1/1 position.
- Engine at idle.
- Compare dwell value of T1/1 with test data.
- Set dual ignition adaptor to T1/2.
- Engine at idle.
- Compare dwell T1/2 with test values.


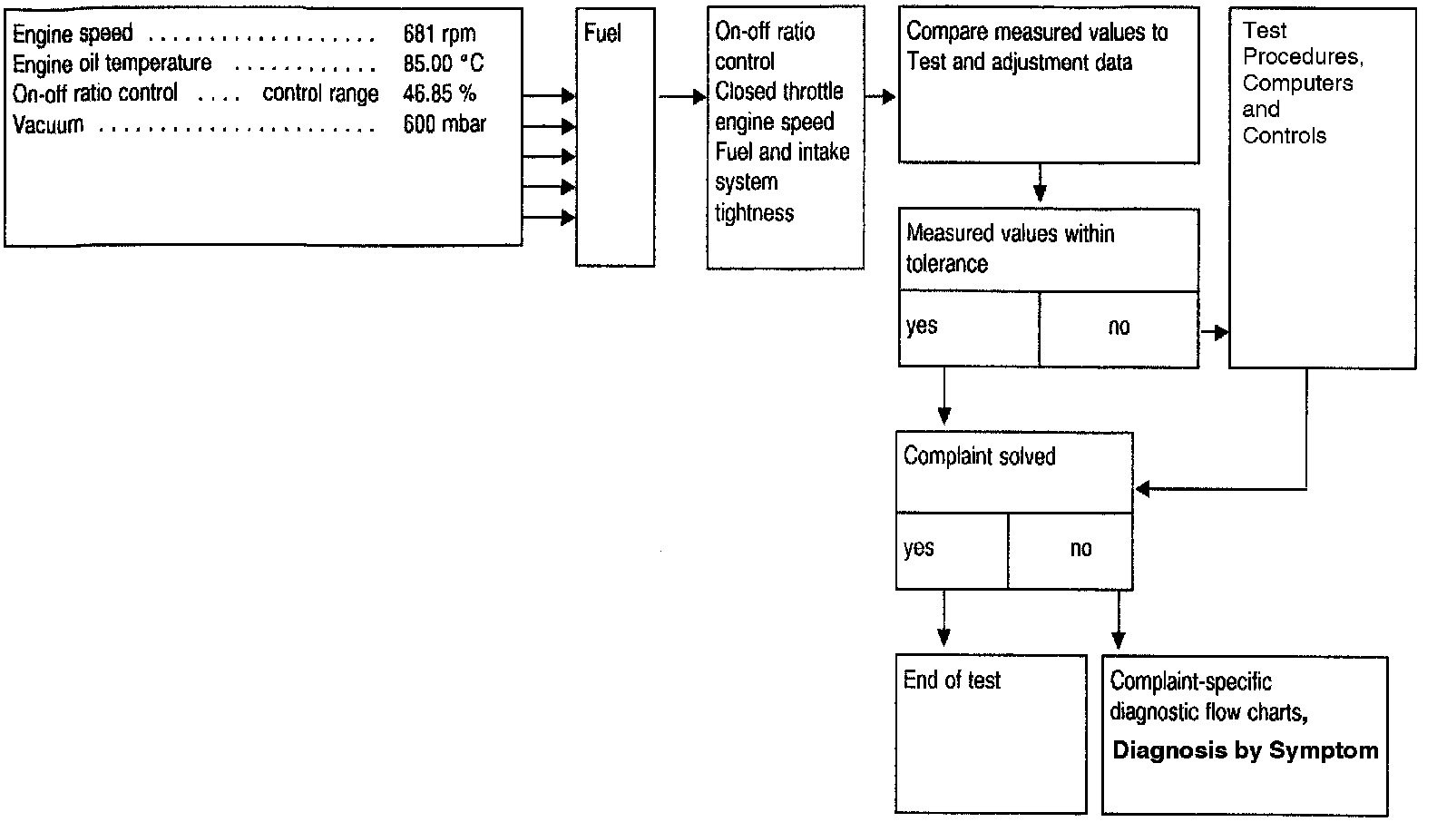
Dwell:





- The idle speed control can be checked with the dwell test program on engines 102 and 103. In this case, the dwell % measurement is used as an on-off ratio measurement. For the measurement use test cable 102 589 14 63 00 or 103 589 00 63 00.
- Test and adjustment data. Test and Adjustment Data [Specifications]


Ignition Timing:





By switching the trigger clamp from cylinder 1 to cylinder 2 on Engine 119, an ignition timing comparison measurement can be made. Subtract 90° from the indicated measurement value to determine the correct specification. This will show any defects in the segments on the starter ring gear.


On-off Ratio: