Located In Engine Compartment With Two Rotary Potentiometers
Pedal Value Sensor, Design
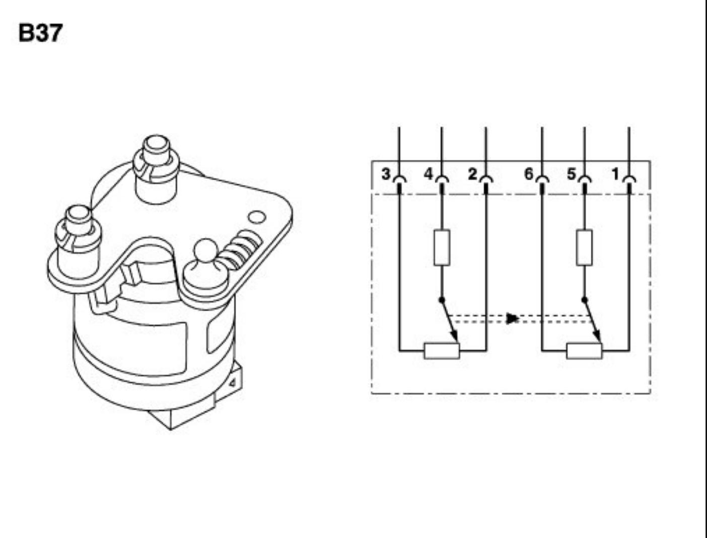
B37 Pedal value sensor
The pedal value sensor consists of two synchronous rotary potentiometers. The voltage for the two potentiometers is supplied to connection 1 and 6 with 5V and to connection 2 and 3 with 2.5 V. A restoring spring is integrated in the pedal value sensor.