Curiosii for ever!: Car repair manuals for everyone.

Air Flow Meter/Sensor: Description and Operation




GF07.07-P-6000KE Component Description For The Hot Film MAF Sensor
- ENGINE 271.921 /944 /946 /948 up to Model Year 8
- ENGINE 271.940 in MODEL 203 up to Model Year 8
- ENGINE 271.940 in MODEL 209
- ENGINE 271.941 /955 /956

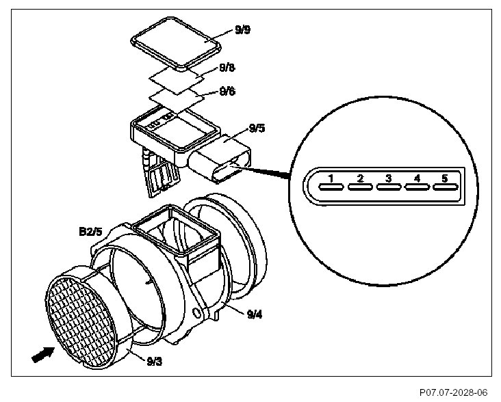
Arrangement







B2/5 Hot film MAF sensor

The hot film MAF sensor is located directly at the outlet of the air filter housing.

Task
The hot film MAF sensor (HFM) detects the air mass sent to the engine and sends an appropriate voltage signal to the ME control unit (N3/10).

Design







9/3 Flow rectifier
9/4 Housing
9/5 Electrical connection
Pin 1: Reference mass
Pin 2 : Circuit 87
Pin 3: Sensor voltage
Pin 4 : Power ground
Pin 5: blank
9/6 Adhesive molding
9/8 Hybrid printed board (electronics)
9/9 Cover
B2/5 Hot film MAF sensor

Function
The integral electronics in the hot film MAF sensor controls the nominal temperature (of about 160°C) of the heating resistor. The temperature of the heating resistor is detected via a sensor resistor. If a temperature change occurs as a result of an increased or reduced air flow, the electronics correct the voltage at the heating resistor until the specified temperature is achieved again.

This regulating current is evaluated by the hot film MAF sensor and converted into a sensor voltage.
The sensor voltage is used by the ME control unit as a measure for the applied air mass.