Curiosii for ever!: Car repair manuals for everyone.

Fuel Pump, Function




Fuel Pump, Function
Model 129, 140, 170, 202, 208, 210, 215, 220, 230 with helical spindle pump at frame floor.




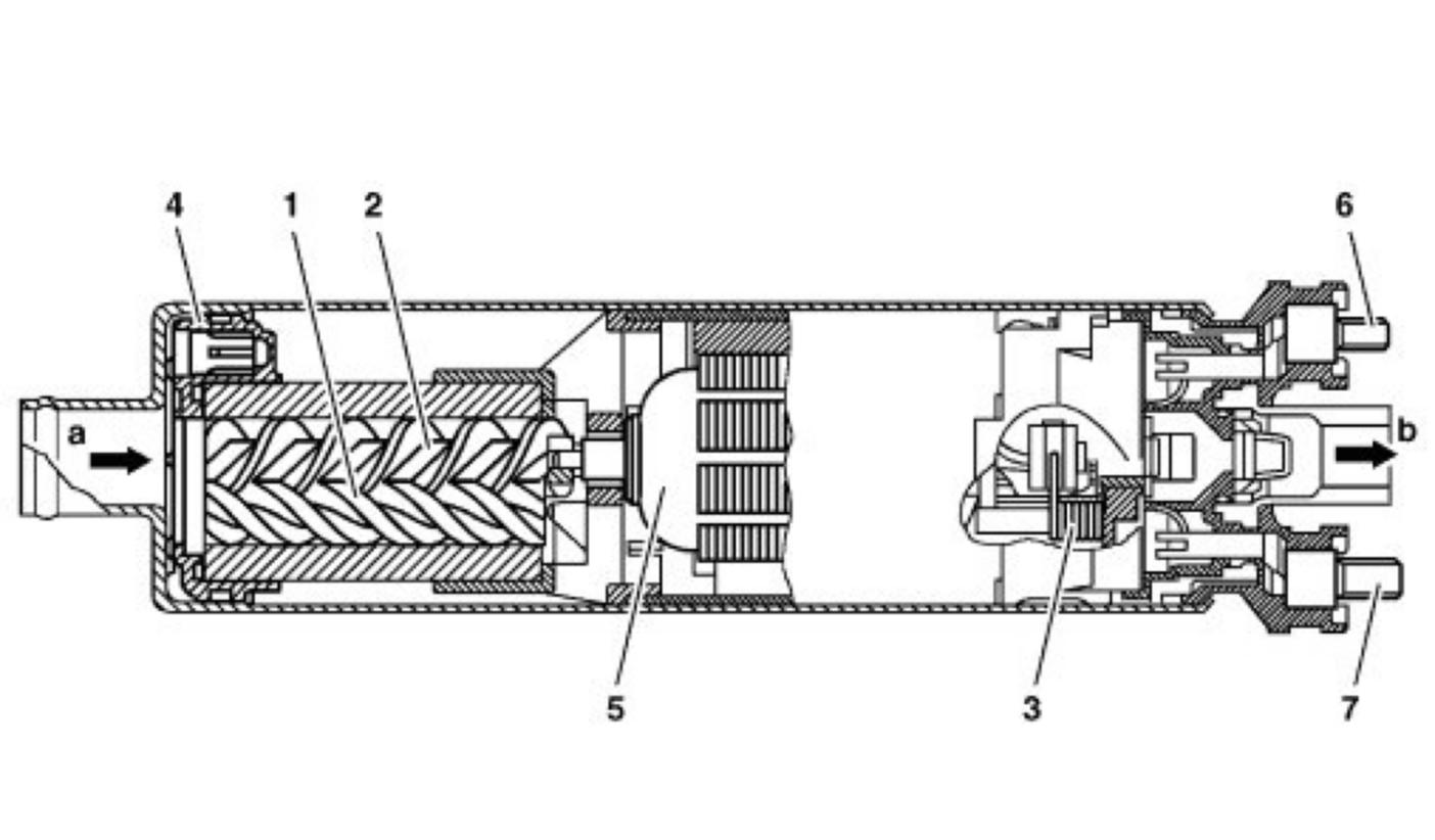
Illustration shows screw spindle pump
1 Rotating spindle
2 Drive spindle
3 Check valve
4 Pressure relief valve
5 Electric motor
6 Ground connection
7 Voltage supply
A Fuel from the fuel tank
B Fuel to the fuel filter

The fuel pump (M3) pumps more fuel than the engine requires in total in order to maintain the pressure in the fuel system in all operating states. As a result of this circulation, relatively cool fuel is available at all times for injection (avoids the formation of vapor bubbles).
A pressure relief valve (4) is integrated in the fuel pump in order to limit the pressure. The check valve (3) in the fuel pump decouples the fuel system from the fuel tank by preventing fuel from flowing back through the fuel pump to the fuel tank.
The fuel pump is actuated by the engine control unit through the fuel pump relay.