Curiosii for ever!: Car repair manuals for everyone.

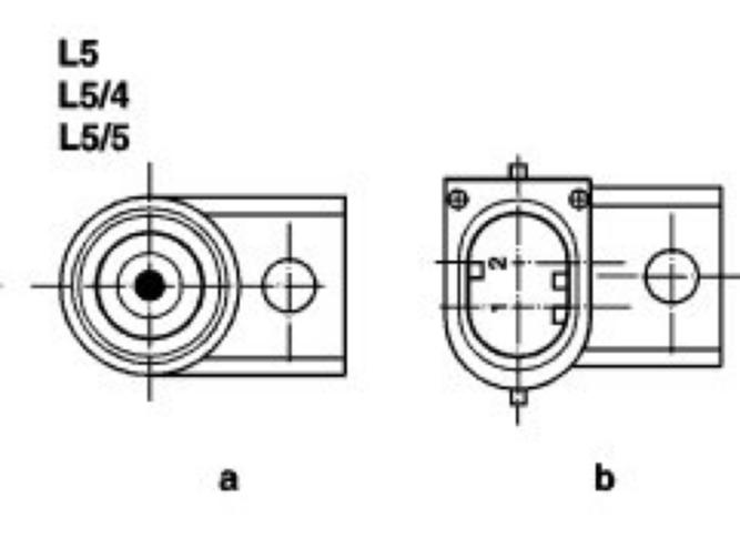
Crankshaft Position Sensor, Design




Crankshaft Position Sensor, Design




L5 Crankshaft position sensor
L5/4 Left crankshaft position sensor (engine 120)
L5/5 Right crankshaft position sensor (engine 120)
a with 2-pin coax-plug contact
b with 2-pin flat connector

Inductive sensor (coil) with 2-pin coax plug contact. On engine 104 because of available space 2-pin flat connector. Further version without connector.