Curiosii for ever!: Car repair manuals for everyone.

Suction Spray Pump, Position/Task/Design/Function




Suction Spray Pump, Position/Task/Design/Function




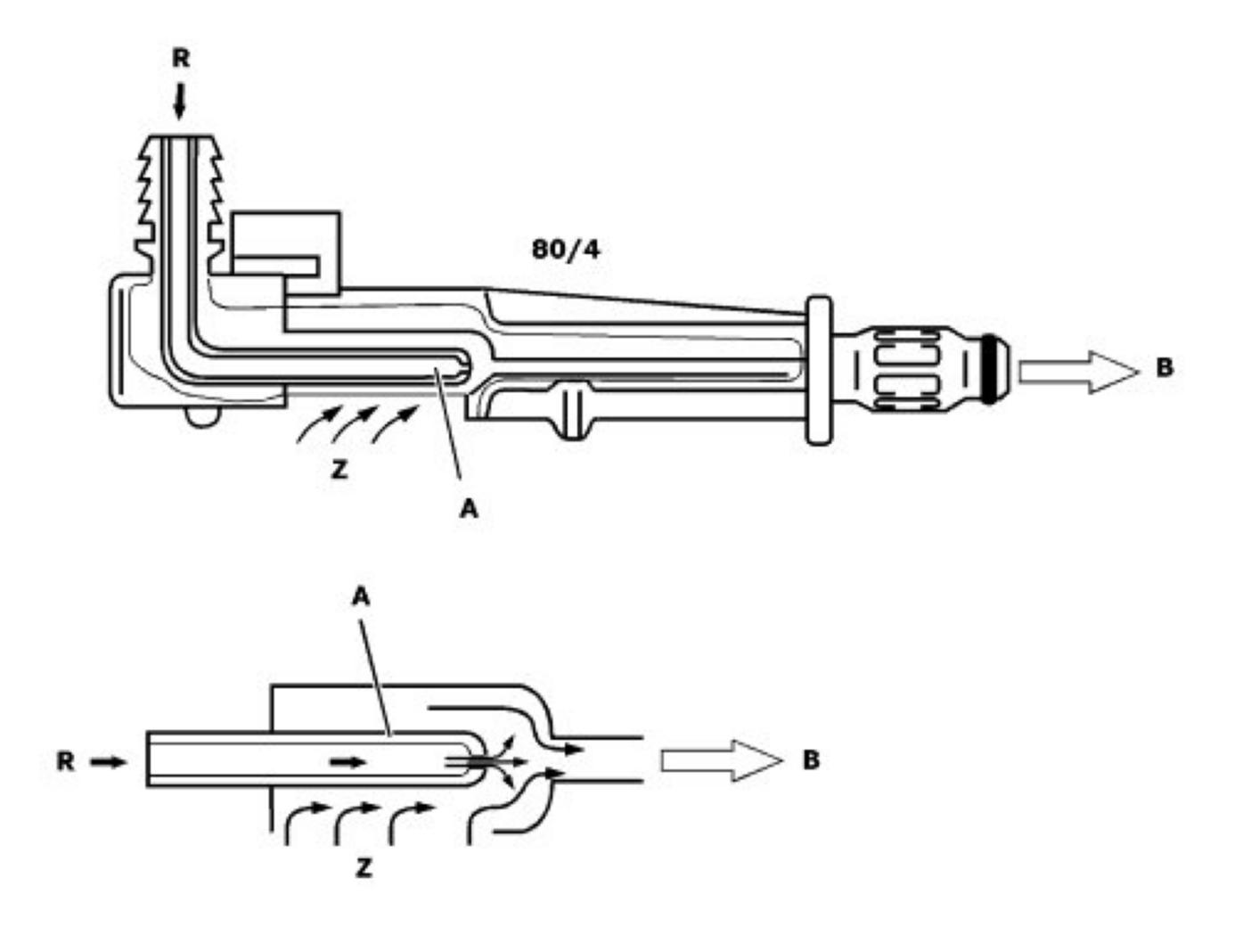
80/4 Suction spray pump
A Nozzle
B To splash bowl
R Fuel return flow
Z Inducted fuel

Suction spray pump position
The suction spray pumps are located at the lowest point of the left chamber of the fuel tank and at the splash bowl in the right chamber of the fuel tank

Suction spray pump task
Drawing fuel out of the chambers of the fuel tank into the splash bowl (right chamber of fuel tank)

Suction spray pump function
The nozzle (A) in the suction spray pump (80/4) accelerates the fuel flowing back. The fuel jet generates a suction effect and entrains the fuel which is located around the nozzle (A) out of the left chamber of the fuel tank with it into the feed line (B) and on to the splash bowl