Curiosii for ever!: Car repair manuals for everyone.

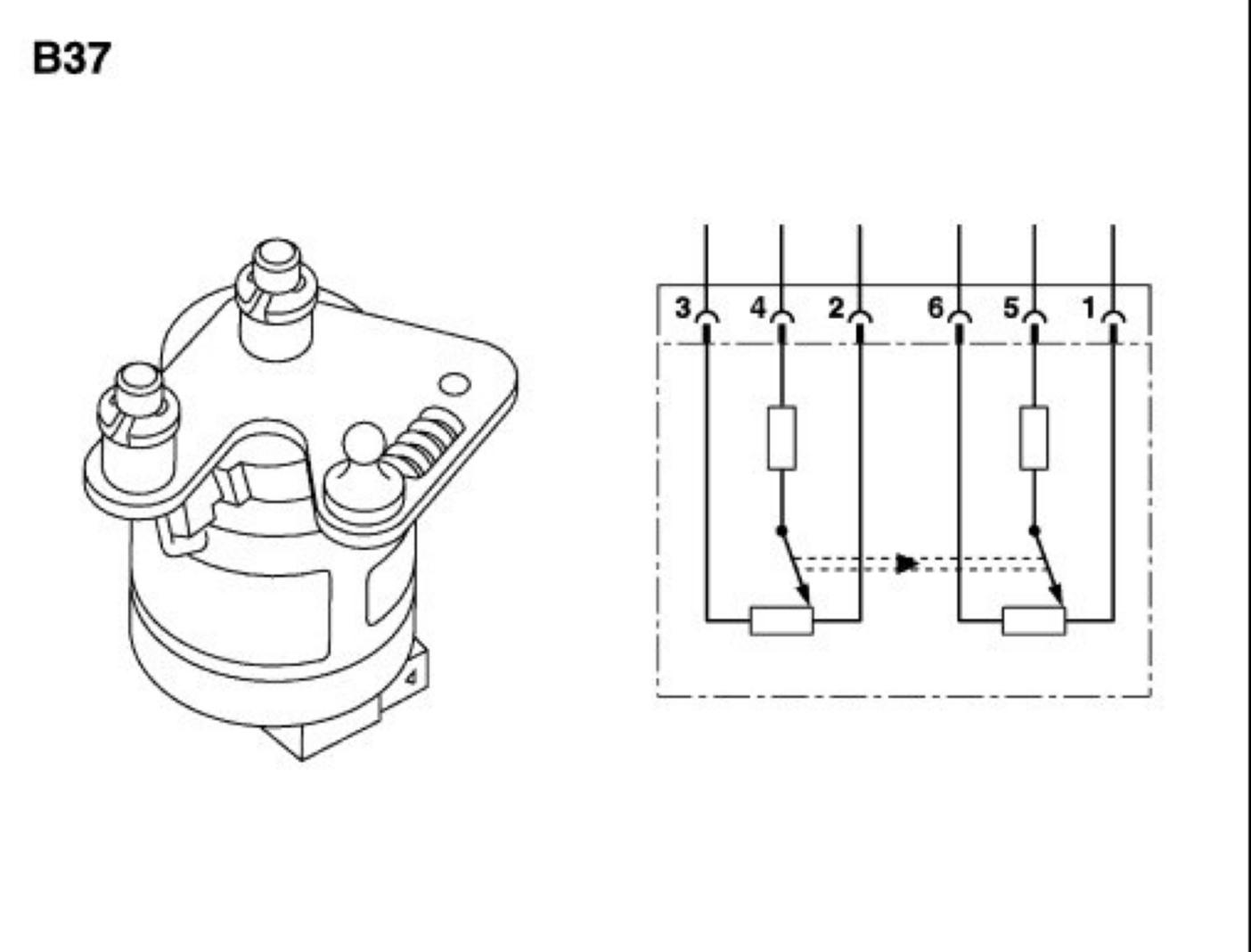
Located In Engine Compartment With Two Rotary Potentiometers




Pedal Value Sensor, Design




B37 Pedal value sensor

The pedal value sensor consists of two synchronous rotary potentiometers. The voltage for the two potentiometers is supplied to connection 1 and 6 with 5V and to connection 2 and 3 with 2.5 V. A restoring spring is integrated in the pedal value sensor.