Curiosii for ever!: Car repair manuals for everyone.

Preparation For Test - Section 35




Figure 1:






Preparation for Test
1. Review section 0. Connection and Use of Test Equipment - Section 0
2. Review Sections: 11, 21, 22, 23, 24, 31, 33.
3. Fabricate test harness for checking injectors, see below.
4. Connect socket box tester to engine control module (N3/10).
5. Disconnect 2-pole connectors on injectors.
6. Remove fuel rail with injectors, thereby not disconnecting the fuel feed and return lines.
7. Connect self-made harness (048) to each injector one after another.
8. Hold each injector in measuring glass one after another.

NOTE: When disconnecting the connectors on the engine control module remove center connector (D) first, when reconnecting connectors install center connector (D) last.


Special Tools:






Conventional tools test equipment
Description Brand, model etc.

Measuring glass (1 liter minimum) Local purchase

1) Available through the MBNA Standard Equipment Program.


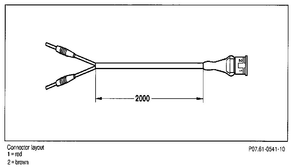
Fabrication of Test Harness:

Self Made Harness:





Consists of:
1x Connector (140 545 35 28)
2x Contact spring (004 545 56 26)
1x Banana plug (red)
1x Banana plug (black)
2.2m Wire (red, 1.5 mm)
2.2m Wire (brown, 1.5 mm)
2.2m Harness tubing (6 mm diameter)